- Partiron
- OEM Parts
- Honda
- MOTORCYCLE
- 1984
- VF500CAC (84) V30 MAGNA, JPN, VIN# JH2PC131-EM000004 TO JH2PC131-EM001383
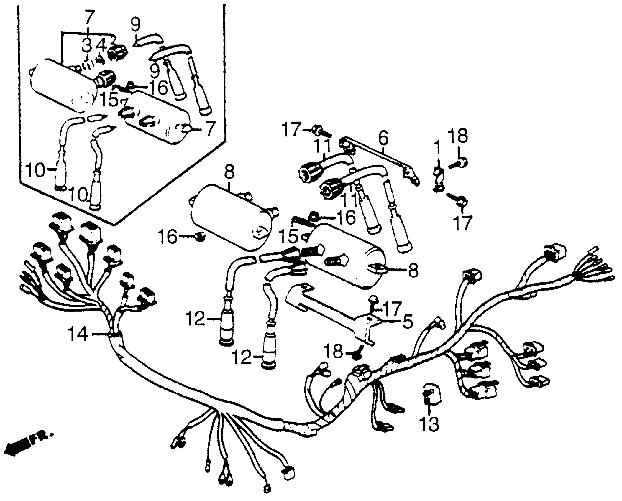
WIRE HARNESS
Honda VF500CAC (84) V30 MAGNA, JPN, VIN# JH2PC131-EM000004 TO JH2PC131-EM001383 WIRE HARNESS Diagram
#
Description
Price
1
CLAMP, FUEL TUBE | Use up to Frame SN EM001028 This part replaces 16716-MJ8-000.
16716-MJ8-010
Unavailable
1
CLAMP, FUEL TUBE | Use up to Frame SN EM001028
16716-MJ8-010
Unavailable
1
CLAMP, FUEL TUBE
16716-MJ8-010
Unavailable
2
CAP, SCREW
30501-428-003
Unavailable
5
STAY, IGNITION COIL SETTING
30506-MJ8-300
Unavailable
6
STAY B, IGNITION COIL SETTING (NOT AVAILABLE)
30507-MJ8-000
Unavailable
7
COIL, IGNITION This part replaces 30510-MB0-701.
30510-MB0-703
Unavailable
7
COIL, IGNITION
30510-MB0-703
Unavailable
9
CAP 1, IGNITION (NOT AVAILABLE)
30731-MJ8-670
Unavailable
10
CAP 2, IGNITION (NOT AVAILABLE)
30732-MJ8-670
Unavailable
14
WIRE HARNESS
32100-MJ8-000
Unavailable
