- Partiron
- OEM Parts
- Kawasaki
- motorcycle
- 2009
- VERSYS® (European)
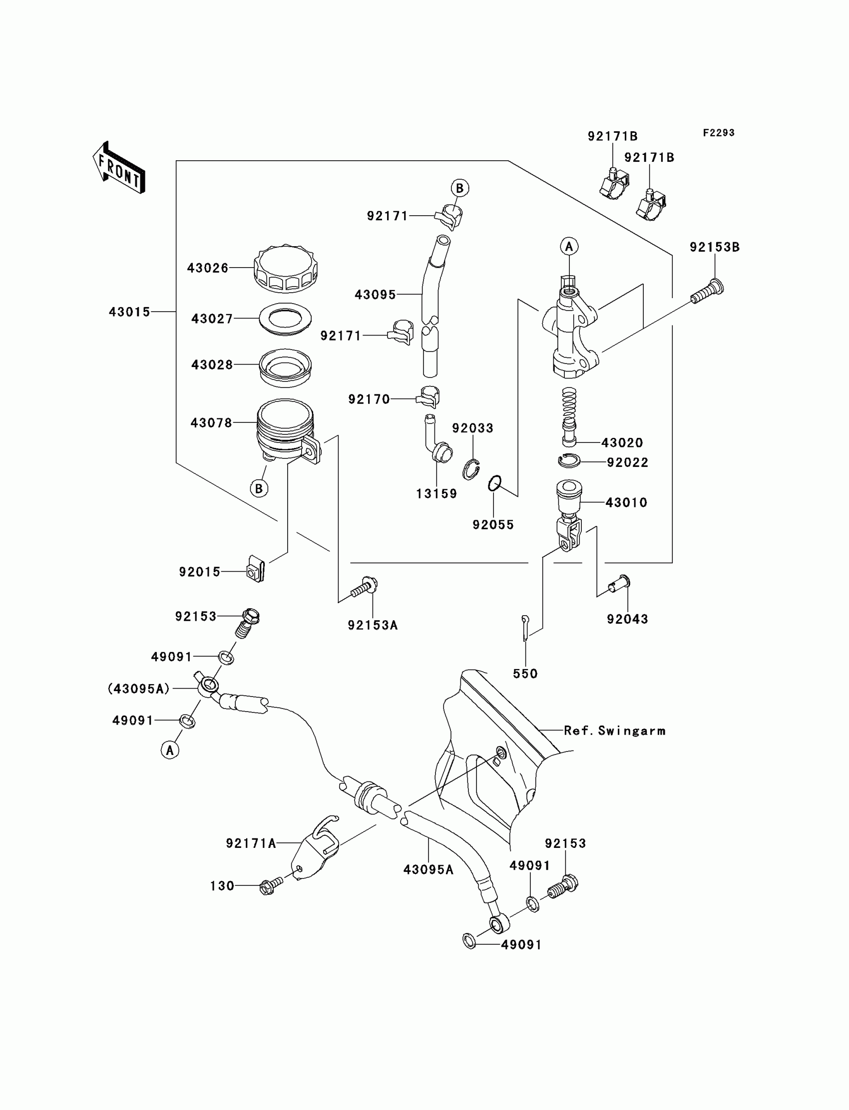
Rear Master Cylinder
Kawasaki VERSYS® (European) Rear Master Cylinder Diagram
#
Description
Price
92022
WASHER,CIRCRIP
92022-1601
Unavailable
92055
RING-O,MASTER CYLINDER
92055-1251
Unavailable
