Yamaha VC1800T (VX CRUISER HO) F4E5 2018 JET UNIT 1 Diagram
#
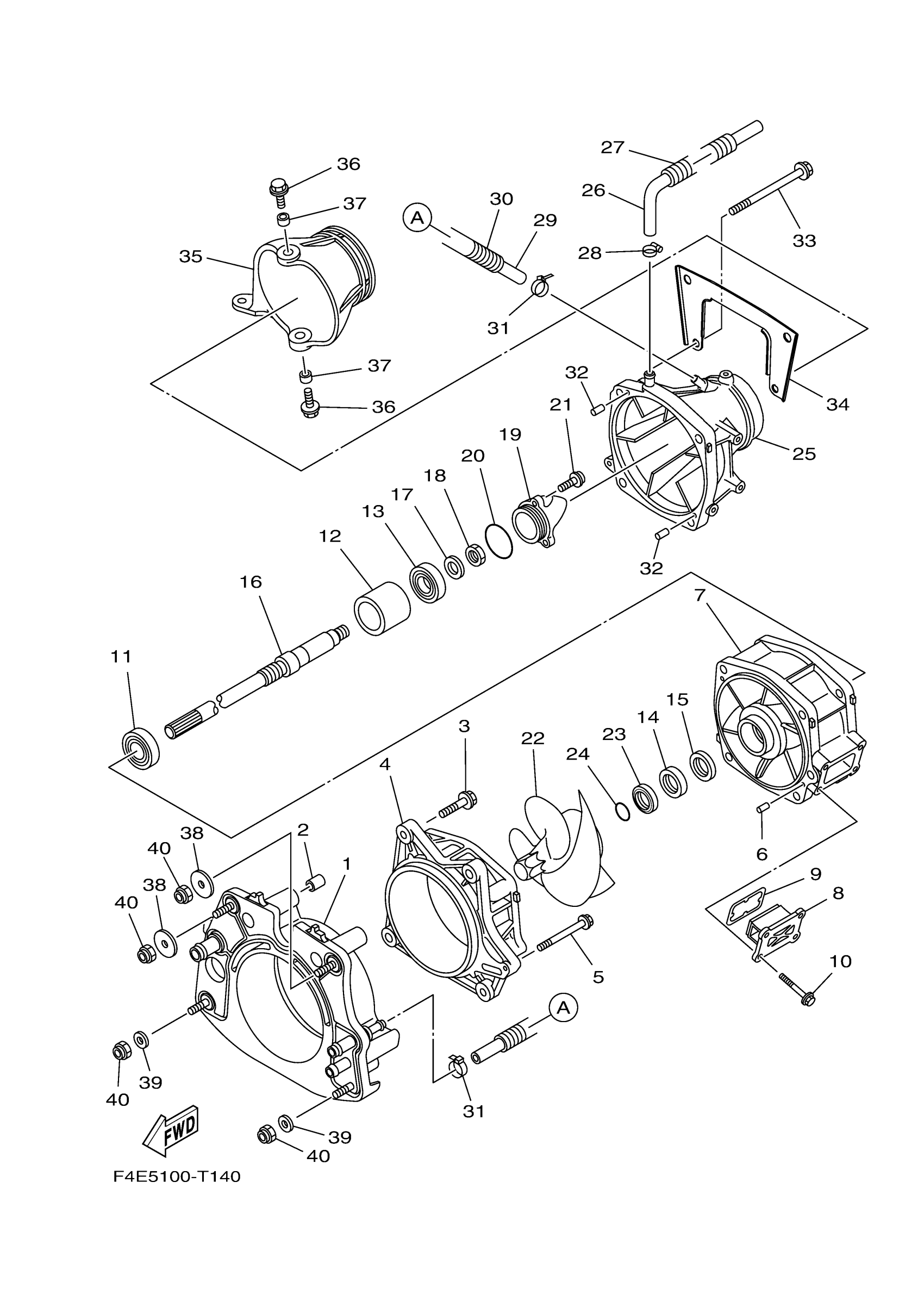
1
PLATE, TRANSOM
6CS-G5831-20-00
Unavailable
3
BOLT, WITH WASHER
90119-10811-00
Unavailable
4
HOUSING, IMPELLER
6CR-R1312-00-00
Unavailable
5
BOLT, WITH WASHER
90119-06894-00
Unavailable
7
DUCT, IMPELLER
6CR-R1315-00-00
Unavailable
8
FILTER
6EX-G6882-10-00
Unavailable
9
. O-RING
66V-42414-00-00
Unavailable
10
BOLT,WITH WASHER
90119-06890-00
Unavailable
12
SPACER 1
6CS-G5538-00-00
Unavailable
13
BEARING(3RR)
93306-30560-00
Unavailable
14
. OIL SEAL
93102-31009-00
Unavailable
15
. OIL SEAL
93101-31001-00
Unavailable
16
SHAFT, DRIVE
6S5-G5511-00-00
Unavailable
17
WASHER
92990-20600-00
Unavailable
18
NUT
95312-20700-00
Unavailable
19
CAP
6AN-R1326-00-00
Unavailable
20
O-RING
93210-54010-00
Unavailable
21
BOLT, HEXAGON SOCKET HEAD
90110-06823-00
Unavailable
22
IMPELLER
6AP-R1321-20-00
Unavailable
23
SPACER
6BH-R1348-00-00
Unavailable
24
O-RING (30X)
93210-30611-00
Unavailable
25
NOZZLE
6EX-R1318-01-00
Unavailable
26
HOSE 1
6CN-U72M2-00-00
Unavailable
27
HOSE (L175)
90446-24M46-00
Unavailable
28
BAND, HOSE 18
90601-118UF-00
Unavailable
29
HOSE (L355)
90445-14807-00
Unavailable
30
HOSE (L320)
90446-20MF5-00
Unavailable
31
CLAMP
90465-10098-00
Unavailable
33
BOLT, WITH WASHER
90119-10807-00
Unavailable
34
BRACKET
6EY-R1959-00-00
Unavailable
35
NOZZLE, DEFLECTOR
6EX-R1313-00-00
Unavailable
36
BOLT, WITH WASHER
90119-08841-00
Unavailable
37
COLLAR(6R7)
90387-08M06-00
Unavailable
38
WASHER
F1S-U725E-01-00
Unavailable
39
WASHER, PLATE
90201-10801-00
Unavailable
40
NUT, NYLON
9572R-10300-00
Unavailable
