Partiron

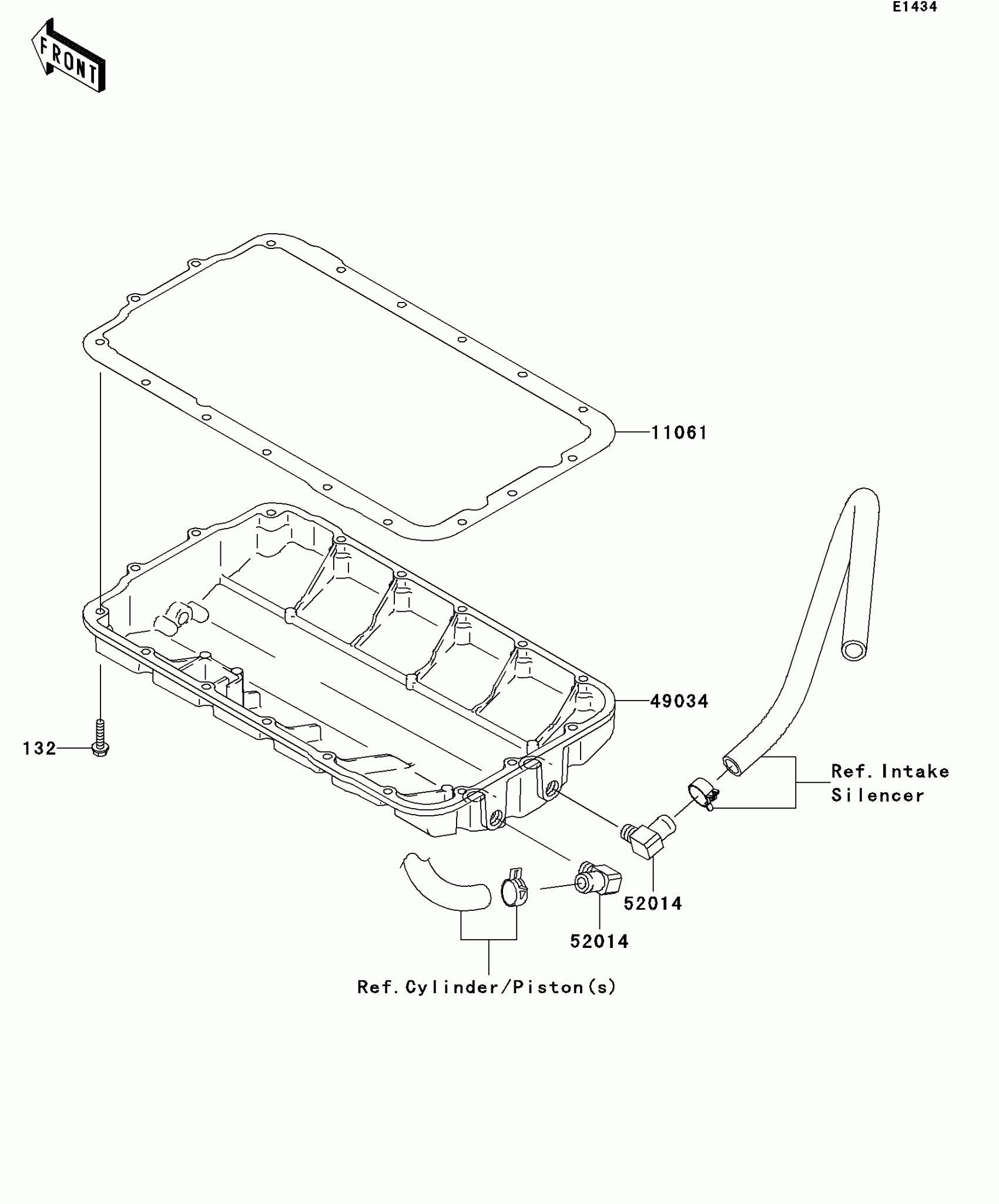
Kawasaki Ultra 250X Oil Pan Diagram

#

Description
Price

11061

GASKET,OIL PAN

11061-3710

$32.10

49034

PAN-OIL

49034-3702

$242.55

52014

ELBOW

52014-3717

$33.08

132

BOLT-FLANGED-SMALL,6X25

132BD0625

$5.39