- Partiron
- OEM Parts
- Suzuki
- Motorcycle
- 2022
- UH200AM2 (2022)
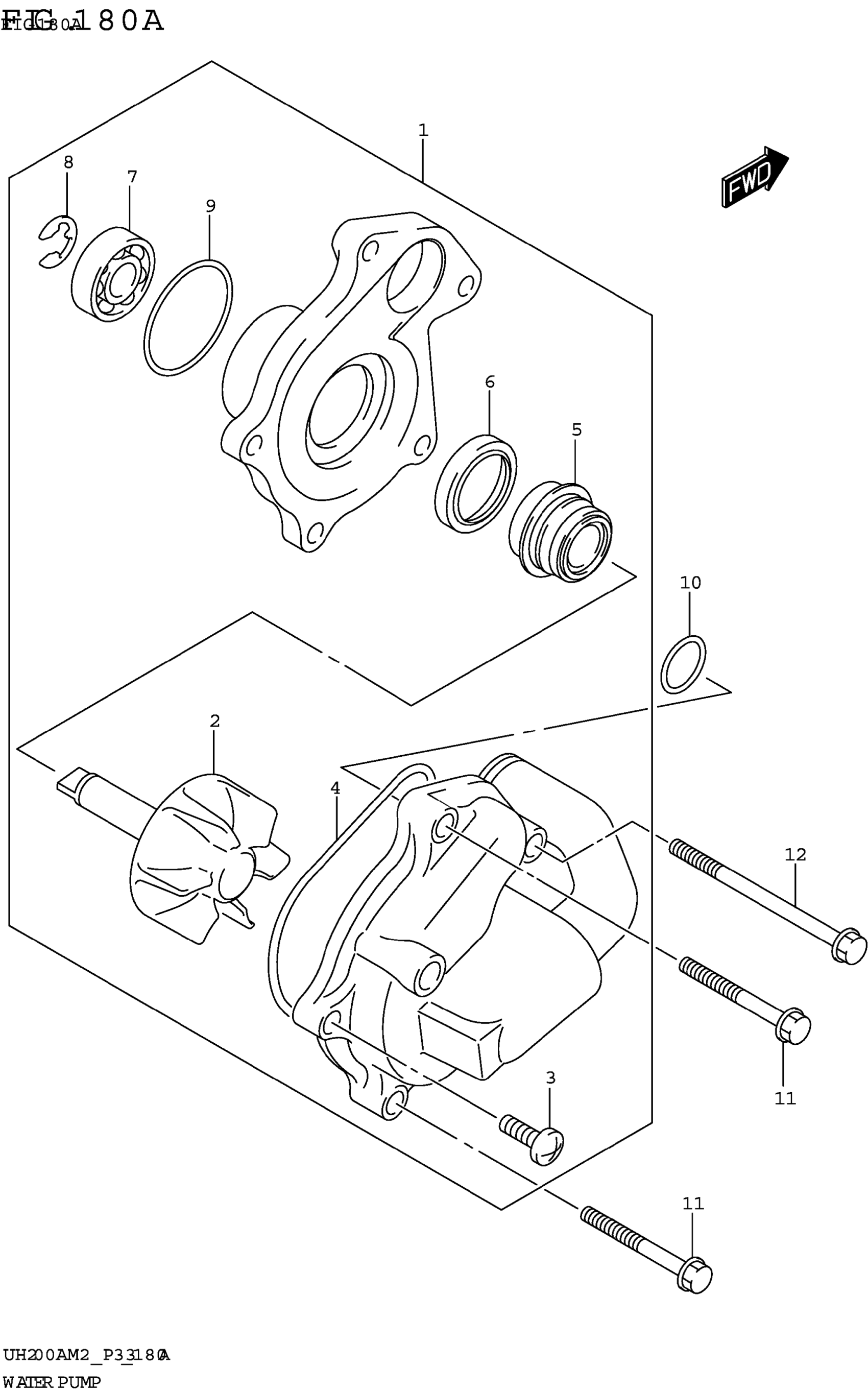
WATER PUMP
Suzuki UH200AM2 (2022) WATER PUMP Diagram
#
Description
Price
2
.IMPELLER
17491-21F00
Unavailable
WATER PUMP
#
2
17491-21F00
Unavailable
Edit ride
