Partiron

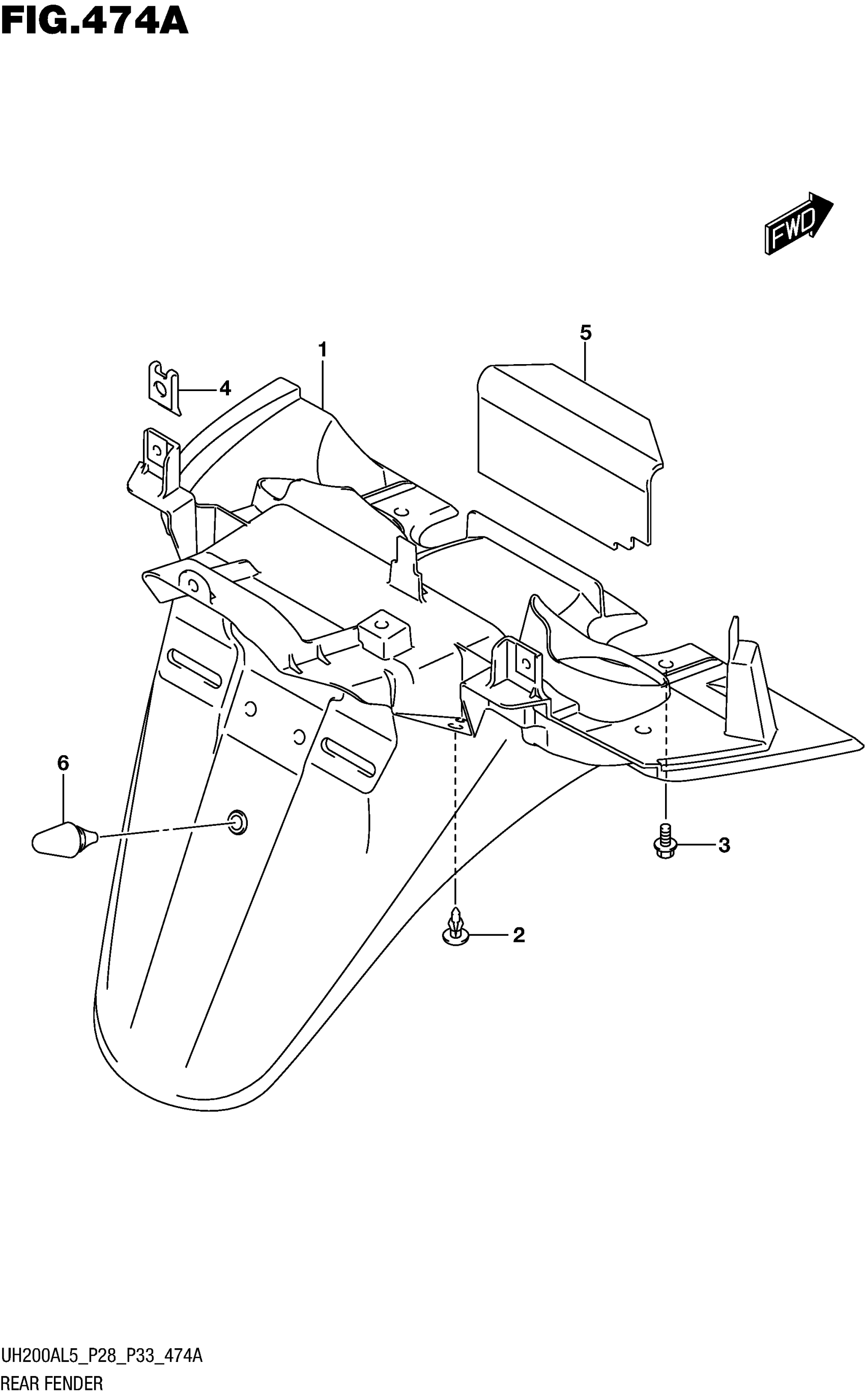
Suzuki UH200AL5 (2015) REAR FENDER (UH200AL5 P28) Diagram

#

Description
Price

1

FENDER, REAR

63111-12JB0

Unavailable

2

CLIP (BLACK)

09409-06314-5PK

$2.78

3

BOLT (6X16.5)

09111-06094

$2.03

4

NUT,REAR FENDER

41996-12JA0

Unavailable

5

MUDGUARD,CRANKCASE

63411-12JA0

Unavailable

6

CUSHION This part replaces 09321-06028.

09321-06038

$1.88