- Partiron
- OEM Parts
- Yamaha
- motorcycle
- 1972
- U7E (U7E) 1972
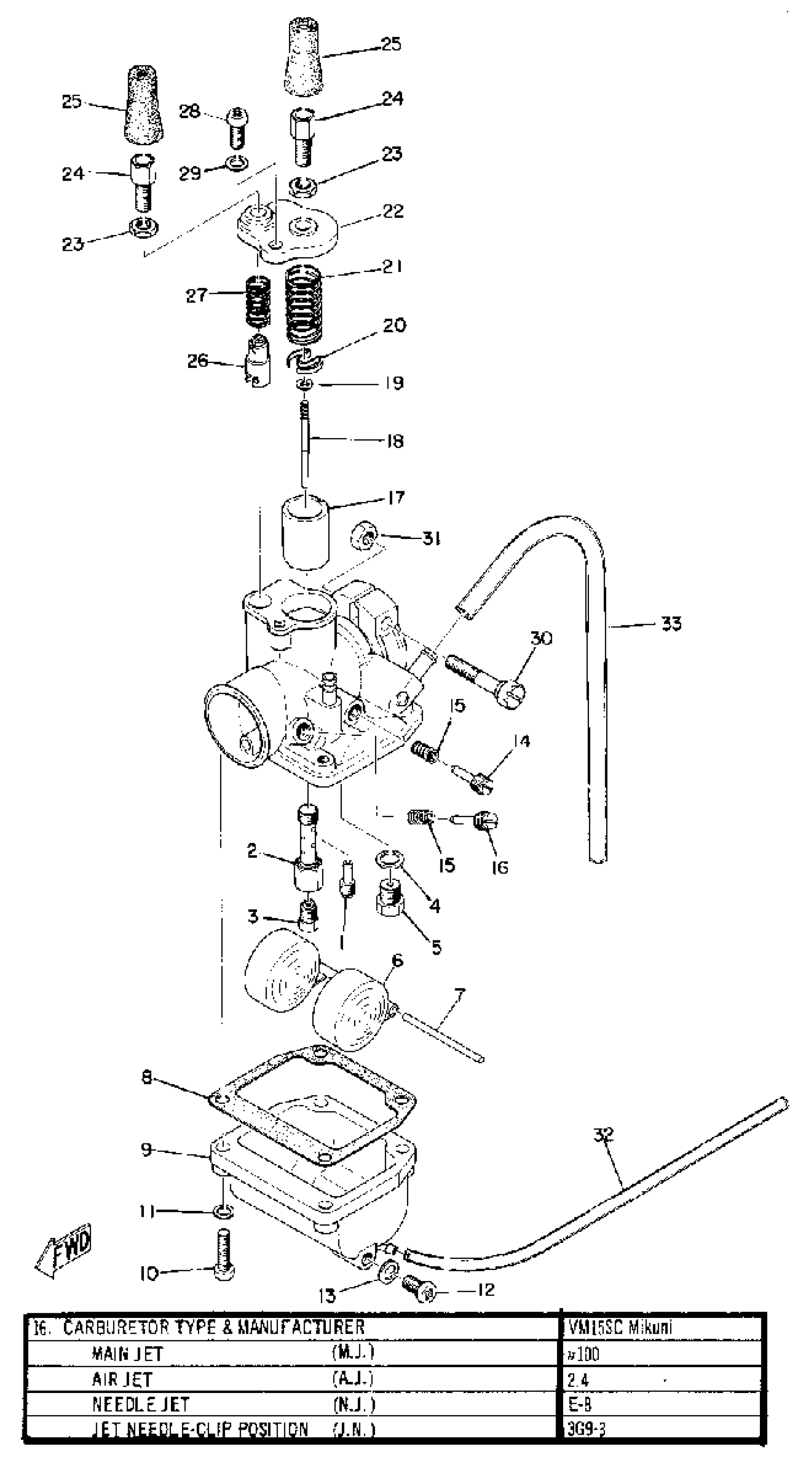
CARBURETOR
Yamaha U7E (U7E) 1972 CARBURETOR Diagram
#
1
JET,PILOT (# 12.5)
193-14142-12-00
Unavailable
1
CARBURETOR ASSEMBLY 1
(298-14101-04-00)
Unavailable
2
NOZZLE, MAIN
(127-14141-18-00)
Unavailable
3
. JET, MAIN #95
127-14143-19-00
Unavailable
3
JET, MAIN (NO.110)
127-14143-22-00
Unavailable
6
FLOAT
(296-14185-00-00)
Unavailable
9
BODY, FLOAT CHMBR 1
(296-14181-05-00)
Unavailable
12
SCREW, PAN HEAD(62X)
97885-05010-00
Unavailable
13
WASHER, PLUG SCREW
296-14117-00-00
Unavailable
14
THROTTLE SCREW SET
12G-14103-00-00
Unavailable
15
SPRING, AIR ADJUSTING
127-14134-00-00
Unavailable
16
. SCREW, AIR ADJUSTINGSET
127-W1412-00-00
Unavailable
17
VALVE,THROTTLE 1
18E-14112-25-00
Unavailable
18
NEEDLE
127-14116-09-00
Unavailable
19
CLIP
127-14137-00-00
Unavailable
20
. SEAT, SPRING
296-14136-00-00
Unavailable
21
SPRING, THROTTLE VALVE
296-14131-00-00
Unavailable
22
TOP, MIXING CHAMBER
(296-14158-00-00)
Unavailable
23
NUT, WIRE ADJUSTING
802-14161-00-00
Unavailable
24
CABLE ADJUST SCREW SET
12G-14106-00-00
Unavailable
25
CAP
8A7-14169-00-00
Unavailable
26
PLUNGER, STARTER
58E-14171-00-00
Unavailable
27
SPRING, PLUNGER
127-14135-00-00
Unavailable
28
SCREW, PAN HEAD (E56)
98580-04010-00
Unavailable
30
. SCREW, BODY FITTING
127-14125-01-00
Unavailable
31
NUT, HOLDING
(296-14164-00-00)
Unavailable
32
PIPE, OVERFLOW
(137-14196-00-00)
Unavailable
33
HOSE (L200)
90445-07176-00
Unavailable
