- Partiron
- OEM Parts
- Yamaha
- motorcycle
- 1977
- TZ750D (TZ750) 1977
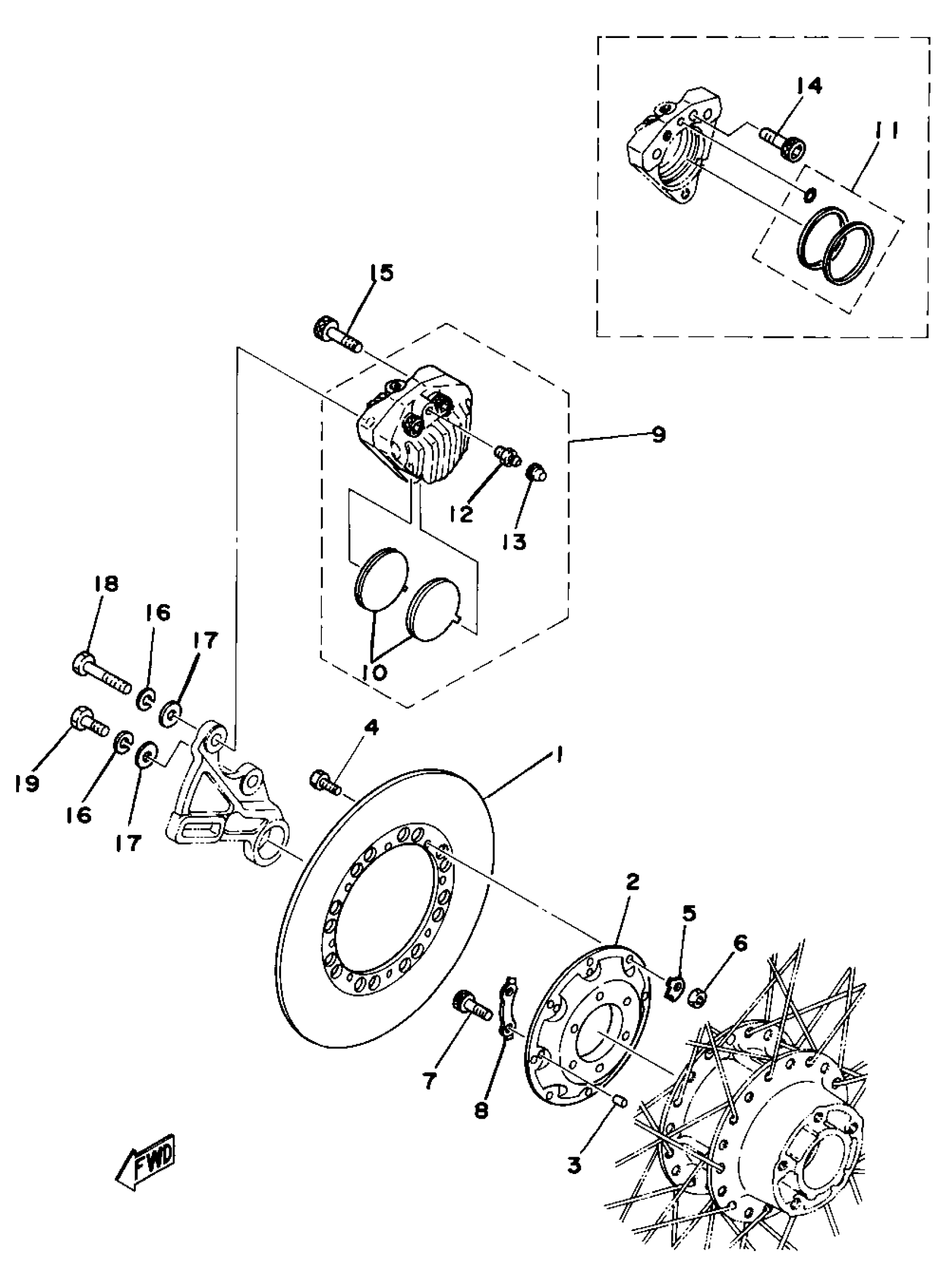
REAR DISC BRAKE - CALIPER
Yamaha TZ750D (TZ750) 1977 REAR DISC BRAKE - CALIPER Diagram
#
Description
Price
1
DISC, BRAKE
(1X2-25831-50-00)
Unavailable
2
BRACKET, DISC
(1X2-25842-51-00)
Unavailable
3
PIN, SPRING
(91609-40008-00)
Unavailable
5
WASHER LOCK 306258340000
90215-06106-00
Unavailable
6
NUT, HEXAGON
95380-06600-00
Unavailable
9
CALIPER ASSEMBLY
(1X2-25810-50-00)
Unavailable
10
. BRAKE PAD KIT, REAR
1X2-W0046-00-00
Unavailable
11
. CALIPER SEAL KIT
1X2-W0047-00-00
Unavailable
12
. SCREW, BLEED
306-25824-00-00
Unavailable
16
YBS67-10 WASHER, SPRING
92990-10100-00
Unavailable
16
YBS67-10 WASHER, SPRING
92990-10100-00
Unavailable
17
WASHER, PLATE
92990-10600-00
Unavailable
18
BOLT, CALIPER
(1X2-25818-01-00)
Unavailable
19
BOLT, CALIPER
(1X2-25818-41-00)
Unavailable
