- Partiron
- OEM Parts
- Yamaha
- motorcycle
- 1976
- TZ350C (TZ350) 1976
FUEL TANK
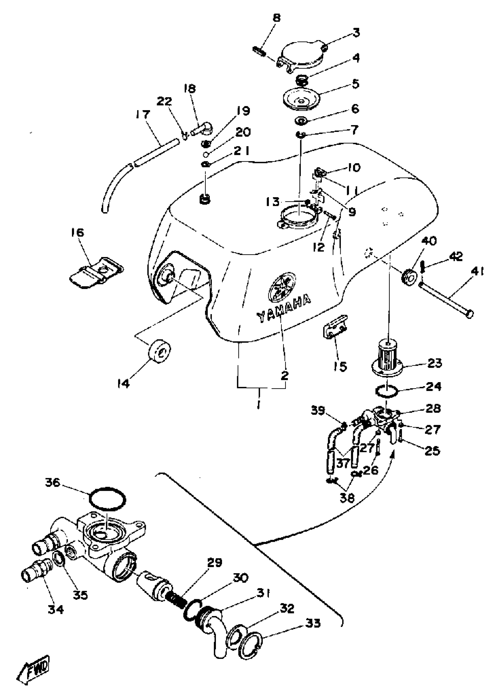
Yamaha TZ350C (TZ350) 1976 FUEL TANK Diagram
#
1
FUEL TANK
(1H3-24110-02-01)
Unavailable
2
EMBLEM 1
240-24161-00-00
Unavailable
3
. BODY, CAP
294-24611-00-00
Unavailable
5
. GASKET, CAP
294-24612-00-00
Unavailable
6
.. WASHER, PLATE
92990-08600-00
Unavailable
8
PIN, SPRING (6H4)
91690-30020-00
Unavailable
9
SPRING, TORSION (256-24637-00)
90508-08223-00
Unavailable
10
HOOK
256-24628-00-00
Unavailable
12
PIN, SPEC''L SHAPE
90249-03016-00
Unavailable
16
BAND, TNK FITTING 1
240-24173-00-00
Unavailable
17
HOSE (MAXI MAROON)
(90446-06007-00)
Unavailable
18
NUT, BREATHER
143-24681-00-00
Unavailable
19
GASKET
(90430-10028-00)
Unavailable
20
BALL, VALVE
143-24684-00-00
Unavailable
21
CLIP, BALL HOLDER
143-24685-00-00
Unavailable
22
CLIP (156-83525-00)
90468-10050-00
Unavailable
23
STRAINER
(294-24167-00-00)
Unavailable
24
O-RING
(93210-38146-00)
Unavailable
25
SCREW, FLAT HEAD (E22)
98780-04520-00
Unavailable
26
SCREW, FLAT HEAD
(98701-04035-00)
Unavailable
27
WASHER, EX.TOOTH
(92901-04500-00)
Unavailable
28
FUEL COCK ASSEMBLY 1
(240-24500-01-00)
Unavailable
29
. SPRING
(145-24529-00-00)
Unavailable
30
. SEAL, COCK
(240-24534-00-00)
Unavailable
31
. LEVER, COCK
(240-24524-00-00)
Unavailable
32
. PLATE, LVR FITTING
(240-24525-00-00)
Unavailable
33
. BRACKET, FUEL COCK
(240-24544-00-00)
Unavailable
34
. NIPPLE
(240-24537-00-00)
Unavailable
35
. GASKET
(240-24528-00-00)
Unavailable
36
. GASKET
(145-24512-00-00)
Unavailable
37
HOSE
(90445-11313-00)
Unavailable
38
CLIP
90467-100A1-00
Unavailable
39
CLIP(1JH)
90467-11106-00
Unavailable
40
GROMMET(87A)
90480-20527-00
Unavailable
41
UNAVAILABLE IN PRICE BOOK
91701-05138-00
Unavailable
42
CLIP (156-83525-00)
90468-10050-00
Unavailable
