- Partiron
- OEM Parts
- Yamaha
- motorcycle
- 1976
- TZ350C (TZ350) 1976
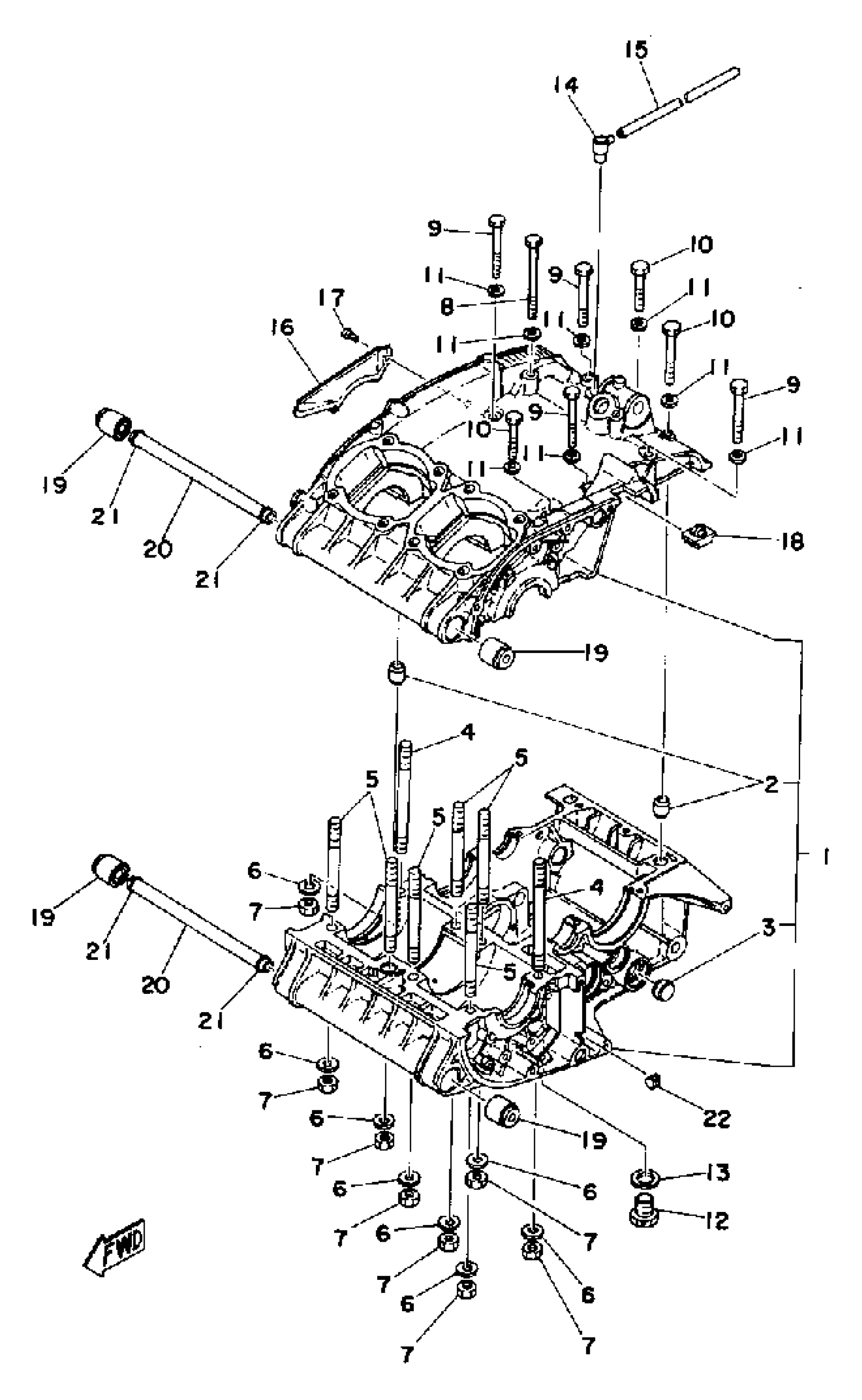
CRANKCASE
Yamaha TZ350C (TZ350) 1976 CRANKCASE Diagram
#
Description
Price
1
CRANKCASE ASSEMBLY
(1H3-15100-00-00)
Unavailable
3
PLUG, SPEC''L SHAPE
(90338-17016-00)
Unavailable
6
WASHER, PLAIN
92990-08200-00
Unavailable
9
BOLT, HEXAGON W/W DEEP RECESS
97E95-06555-00
Unavailable
12
PLUG,STRAIGHT SCRW
90340-14033-00
Unavailable
16
COVER
278-15492-01-00
Unavailable
17
SCREW, PAN HEAD(62X)
97885-05010-00
Unavailable
18
HOLDER, CLCH CABLE
278-15441-00-00
Unavailable
19
DAMPER
90388-08003-00
Unavailable
20
SPACER, ENG MOUNT
328-15317-00-00
Unavailable
21
O-RING (328)
93210-12131-00
Unavailable
22
GROMMET
(129-15489-10-00)
Unavailable
