- Partiron
- OEM Parts
- Yamaha
- motorcycle
- 1982
- TZ250J (TZ250) 1982
FUEL TANK
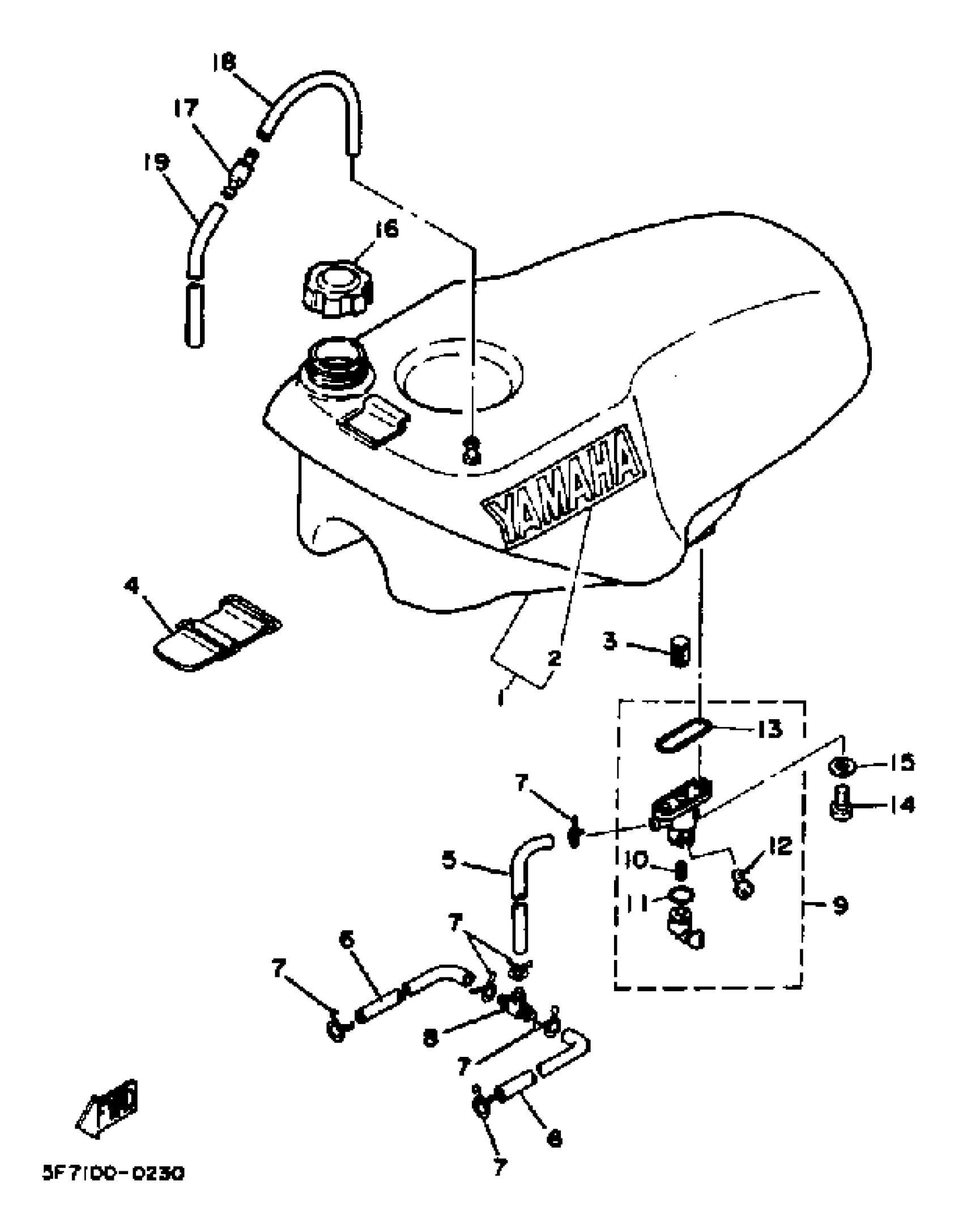
Yamaha TZ250J (TZ250) 1982 FUEL TANK Diagram
#
Description
Price
1
FUEL TANK
(5F7-24110-00-01)
Unavailable
2
. EMBLEM 1
3G3-24161-00-00
Unavailable
3
NET, FILTER 1
322-24514-00-00
Unavailable
4
BAND, TNK FITTING 1
240-24173-00-00
Unavailable
8
JOINT, FUEL PIPE
1X2-24376-00-00
Unavailable
9
FUEL COCK ASSEMBLY 1
(5F7-24500-00-00)
Unavailable
10
. SPRING
1A0-24529-01-00
Unavailable
11
O-RING
1A0-24512-00-00
Unavailable
12
. SCREW, LEVER FITTING
619-24535-00-00
Unavailable
16
CAP ASSEMBLY
5F7-24610-00-00
Unavailable
17
PIPE JOINT ASSEMBLY
4A0-24380-00-00
Unavailable
18
HOSE
90446-09130-00
Unavailable
19
TUBE, FLEXIBLE VINYL(8AT)
91A20-05145-00
Unavailable
