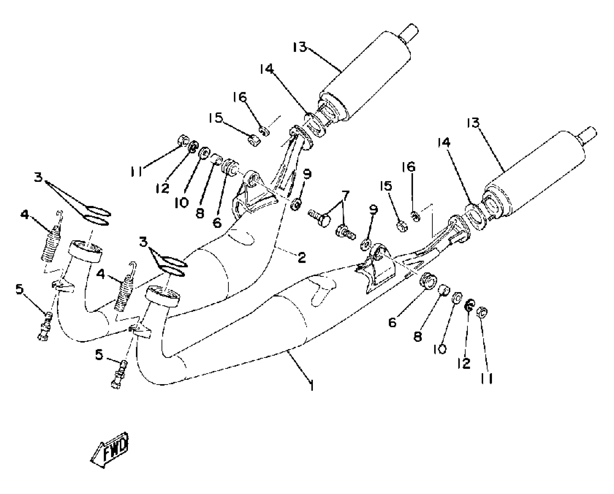
Yamaha TZ250G (TZ250) 1980 EXHAUST Diagram
#
Description
Price
1
EXHAUST PIPE ASSEMBLY L
(3G2-14610-00-00)
Unavailable
2
EXHAUST PIPE ASSEMBLY R
(3G2-14620-00-00)
Unavailable
3
O-RING
93210-48208-00
Unavailable
4
SPRING,TENSION
90507-20012-00
Unavailable
5
BOLT (322-14684-10)
90109-08305-00
Unavailable
6
DAMPER
565-14747-00-00
Unavailable
10
.. WASHER, PLATE
92990-08600-00
Unavailable
11
. NUT
95380-08700-00
Unavailable
13
SILENCER, EXHAUST
(3G2-14753-01-00)
Unavailable
14
GASKET, SILENCER
4DP-14755-00-00
Unavailable
16
WASHER, SPRING
92995-06100-00
Unavailable
