- Partiron
- OEM Parts
- Yamaha
- motorcycle
- 1980
- TZ250G (TZ250) 1980
CRANKSHAFT PISTON
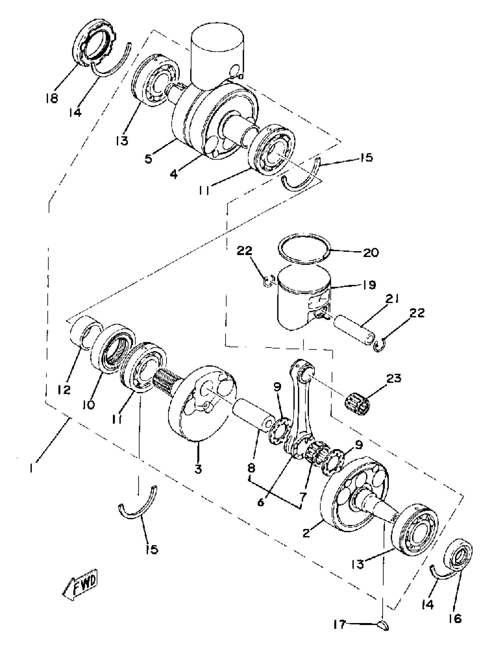
Yamaha TZ250G (TZ250) 1980 CRANKSHAFT PISTON Diagram
#
Description
Price
1
CRANKSHAFT ASSEMBLY
3G2-Y1140-00-00
Unavailable
2
. CRANK 1
328-11412-02-00
Unavailable
3
CRANK 2
(328-11422-02-00)
Unavailable
4
CRANK 3
(328-11432-02-00)
Unavailable
5
CRANK 4
(328-11442-02-00)
Unavailable
6
CONNECTING ROD ASSEMBLY
3G2-11650-09-00
Unavailable
9
WASHER (29L)
90209-22248-00
Unavailable
10
. SEAL, LABYRINTH 1
328-11515-00-00
Unavailable
11
. BEARING
93306-20614-00
Unavailable
12
COLLAR (328-11513-00)
90387-32204-00
Unavailable
13
. BEARING, CYLINDER #90
93390-00012-00
Unavailable
14
CIRCLIP 1
328-17424-00-00
Unavailable
16
OIL SEAL (20X40X10-360)
93103-20076-00
Unavailable
17
KEY,WOODRUFF
90280-04005-00
Unavailable
18
OIL SEAL (40X62X10-360)
93103-40077-00
Unavailable
19
PISTON STD
4A1-11631-00-21
Unavailable
19
PISTON STD
4A1-11631-00-21
Unavailable
19
PISTON STD
4A1-11631-00-22
Unavailable
20
RING, PISTON STD
4A1-11611-00-00
Unavailable
21
PIN,PISTON
280-11633-00-00
Unavailable
22
CIRCLIP (137-11634-00)
93450-17025-00
Unavailable
23
BEARING, NEEDLE (24X)
93310-216L2-00
Unavailable
