- Partiron
- OEM Parts
- Yamaha
- motorcycle
- 1980
- TZ250G (TZ250) 1980
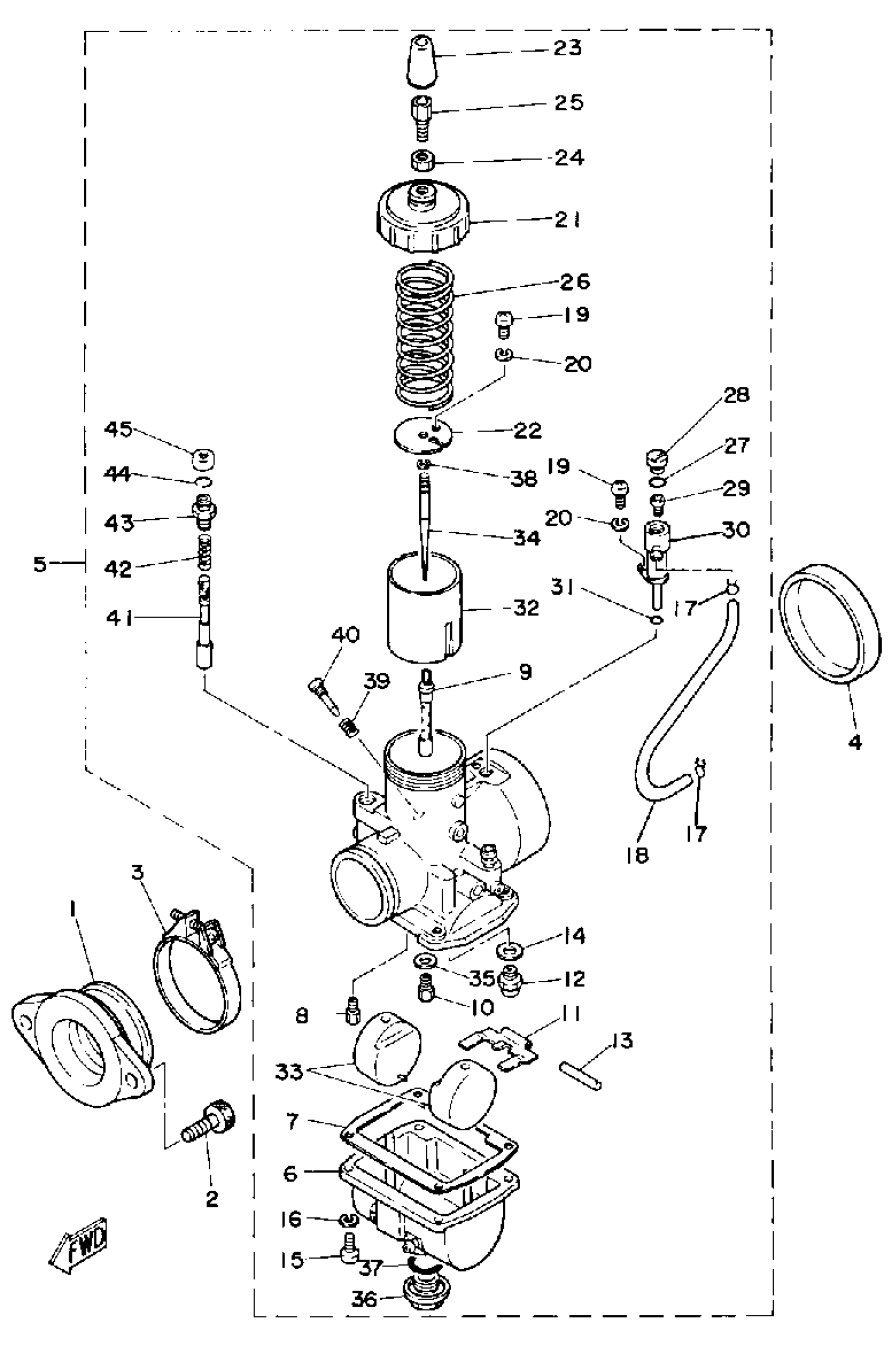
CARBURETOR
Yamaha TZ250G (TZ250) 1980 CARBURETOR Diagram
#
1
MANIFOLD, INTAKE
4A1-13555-00-00
Unavailable
4
COVER, MIXING
240-14157-00-00
Unavailable
5
CARBURETOR ASSEMBLY 1
(4A1-14101-00-00)
Unavailable
6
BODY, FLOAT CHMBR 1
(3V3-14181-16-00)
Unavailable
8
. JET, PILOT #60
193-14142-60-00
Unavailable
9
. NOZZLE, MAIN (0-2)
239-14141-32-00
Unavailable
10
JET, MAIN #210
137-14143-42-A1
Unavailable
10
JET, MAIN #250
137-14143-50-A1
Unavailable
10
JET, MAIN #260
137-14143-52-00
Unavailable
10
JET, MAIN #270
137-14143-54-A1
Unavailable
10
JET, MAIN #280
137-14143-56-A0
Unavailable
10
JET, MAIN #290
137-14143-58-A1
Unavailable
10
JET, MAIN #300
137-14143-60-A0
Unavailable
11
ARM, FLOAT
(239-14187-00-00)
Unavailable
12
NEEDLE VALVE SET
24X-14107-33-00
Unavailable
13
PIN, FLOAT
537-14186-00-00
Unavailable
14
WASHER,VALVE SEAT
239-14195-00-00
Unavailable
15
SCREW, PAN HEAD(6B0)
97885-05016-00
Unavailable
16
YBS67-5 WASHER, SPRING
92990-05100-00
Unavailable
17
CLIP, PIPE
8A7-14139-00-00
Unavailable
18
. HOSE
3V3-14987-00-00
Unavailable
19
SCREW, PAN HEAD (713)
98580-04008-00
Unavailable
20
YBS67-4 WASHER, SPRING
92990-04100-00
Unavailable
21
. TOP, MIXING CHAMBER
239-14158-00-00
Unavailable
22
. SEAT, SPRING
3V3-14136-00-00
Unavailable
23
CAP
8A7-14169-00-00
Unavailable
24
NUT, WIRE ADJUSTING
802-14161-00-00
Unavailable
25
CABLE ADJUST SCREW SET
12G-14106-00-00
Unavailable
26
. SPRING, THRTL VALVE
239-14131-00-00
Unavailable
27
O-RING
36Y-14147-00-00
Unavailable
28
. PLUG, SCREW
3G2-14115-00-00
Unavailable
29
JET, MAIN (# 70)
3G2-14231-14-00
Unavailable
29
JET, MAIN (# 75)
3G2-14231-15-00
Unavailable
29
. JET, MAIN 80 (80)
3G2-14231-16-00
Unavailable
29
. JET, MAIN #85
3G2-14231-17-00
Unavailable
29
JET, MAIN (# 90)
3G2-14231-18-00
Unavailable
30
. HOLDER, NOZZLE
1X2-14244-00-00
Unavailable
31
O-RING
214-14147-00-00
Unavailable
32
VALVE, THROTTLE 1
(3V3-14112-20-00)
Unavailable
32
VALVE, THROTTLE 1
(3V3-14112-25-00)
Unavailable
33
. FLOAT
310-14185-00-00
Unavailable
34
. NEEDLE
275-14116-13-00
Unavailable
35
WASHER,MAIN JET
137-14153-00-00
Unavailable
36
PLUG, SCREW
500-14115-00-00
Unavailable
37
O-RING (541)
558-14147-00-00
Unavailable
38
CLIP
3FA-14137-00-00
Unavailable
39
SPRING, AIR ADJUSTING
127-14134-00-00
Unavailable
40
AIR SCREW SET
23X-14104-00-00
Unavailable
41
PLUNGER, STARTER
(1G8-14171-00-00)
Unavailable
42
SPRING, PLUNGER
156-14135-00-00
Unavailable
43
CAP, PLUNGER
152-14174-00-00
Unavailable
44
CLIP, PLUNGER
353-14138-00-00
Unavailable
45
. COVER, PLUNGER CAP
637-14173-00-00
Unavailable
