Partiron

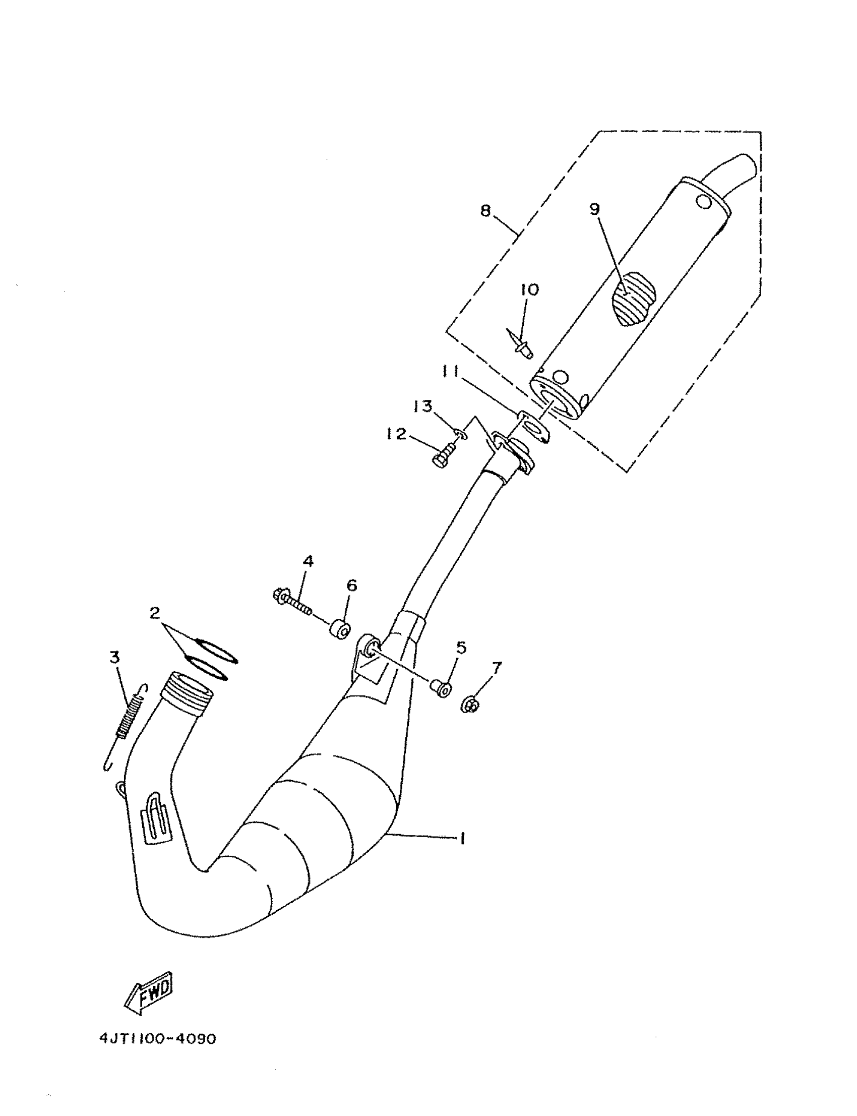
Yamaha TZ125 (TZ125) 4JT6 1999 EXHAUST Diagram

#

Description
Price

1

EXHAUST PIPE ASSEMBLY 1

4JT-14610-B0-00

Unavailable

2

O-RING(1LX)

93210-42728-00

$16.99

3

SPRING, TENSION(4JT)

90507-20061-00

$8.49

4

BOLT, FLANGE

95817-08040-00

$7.49

5

COLLAR(4JT)

90387-0803Y-00

Unavailable

6

DAMPER, RUBBER 1

4A0-21485-00-00

Unavailable

7

NUT, SELF-LOCKING(3BN)

90185-08146-00

$9.49

8

SILENCER, EXHAUST

4JT-14753-20-00

Unavailable

9

FIBER

4JT-1469A-00-00

$38.99

10

RIVET, BLIND(3LC)

90267-48147-00

Unavailable

11

GASKET, SILENCER

4DP-14755-00-00

Unavailable

12

BOLT, HEXAGON

97017-06020-00

$4.06

13

WASHER(6TA)

92907-06600-00

$2.72