- Partiron
- OEM Parts
- Yamaha
- motorcycle
- 1985
- TY350N (TRIAL) 1985
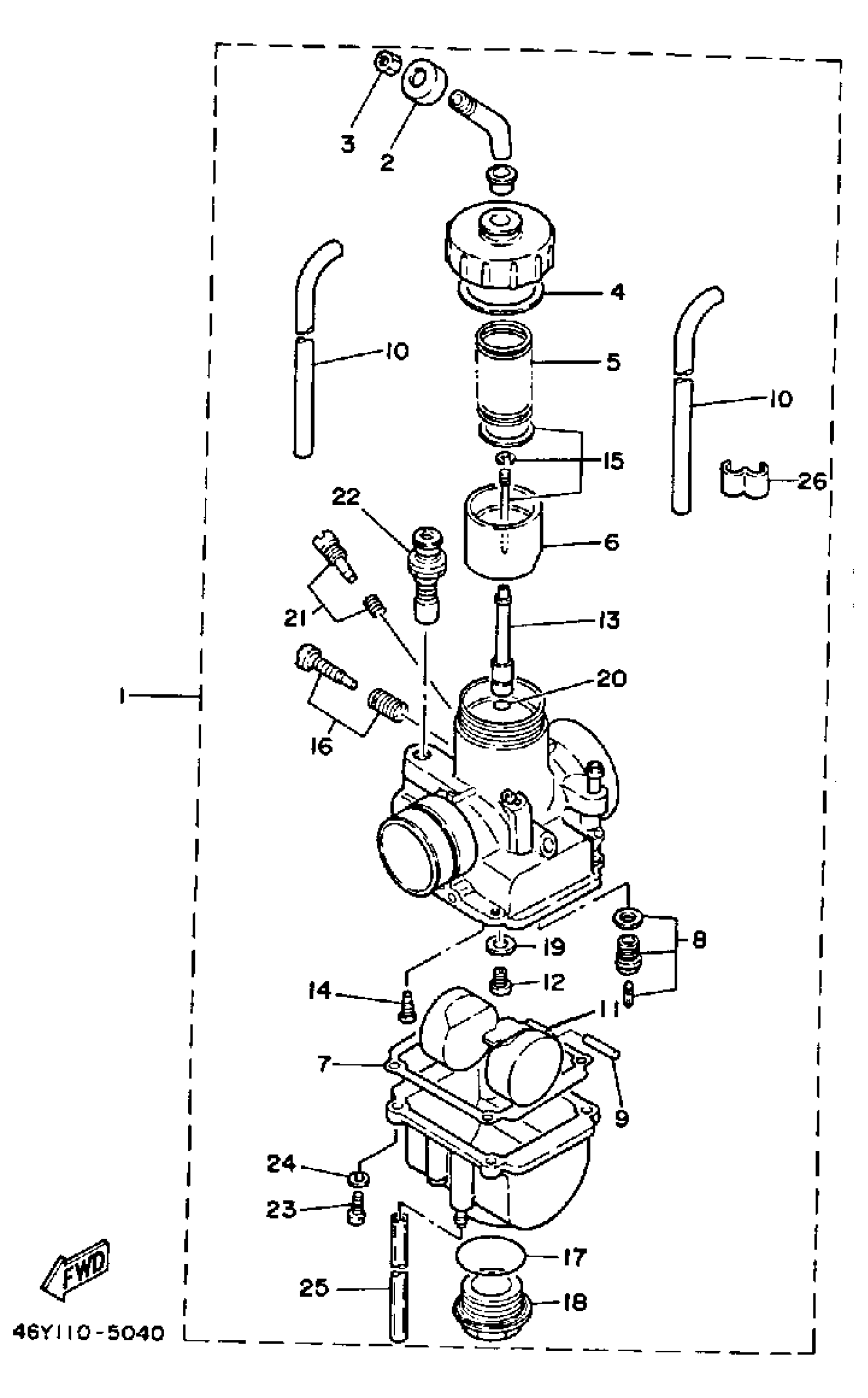
CARBURETOR
Yamaha TY350N (TRIAL) 1985 CARBURETOR Diagram
#
1
CARBURETOR ASSEMBLY
46Y-14301-01-00
Unavailable
2
. CAP
15A-14118-00-00
Unavailable
3
NUT, CABLE ADJUSTING
85L-14161-00-00
Unavailable
4
. GASKET
434-14126-00-00
Unavailable
5
. SPRING, THRTL VALVE
434-14331-00-00
Unavailable
6
. VALVE, THROTTLE 1
1LW-14312-25-00
Unavailable
9
. PIN, FLOAT
647-14386-10-00
Unavailable
10
PIPE, OVER FLOW
367-14396-00-00
Unavailable
11
FLOAT
46Y-14385-00-00
Unavailable
12
JET, MAIN (# 135)
288-14343-68-00
Unavailable
12
JET, MAIN
288-14329-75-00
Unavailable
12
JET,MAIN #156
288-14329-78-00
Unavailable
12
JET, MAIN (# 160)
288-14343-80-00
Unavailable
13
. NOZZLE, MAIN
38V-14341-00-00
Unavailable
14
. JET, PILOT (#36)
43F-14342-18-00
Unavailable
14
JET, PILOT (#38)
43F-14342-19-00
Unavailable
14
JET, PILOT #38
43F-14342-68-00
Unavailable
15
. NEEDLE SET
38V-1490J-00-00
Unavailable
16
THROTTLE SCREW SET
(46Y-14103-00-00)
Unavailable
17
O-RING
38V-14397-00-00
Unavailable
18
. DRAIN PLUG
38V-14191-00-00
Unavailable
19
WASHER, MAIN JET
38V-14153-00-00
Unavailable
20
GASKET
360-24512-00-00
Unavailable
21
AIR SCREW SET
46Y-14104-00-00
Unavailable
22
. PLUNGER, STARTER
38V-14371-00-00
Unavailable
23
SCREW, PAN HEAD(GA5)
98580-04014-00
Unavailable
24
YBS67-4 WASHER, SPRING
92990-04100-00
Unavailable
25
PIPE, OVER FLOW
367-14396-00-00
Unavailable
26
. PIPE
44J-14349-00-00
Unavailable
