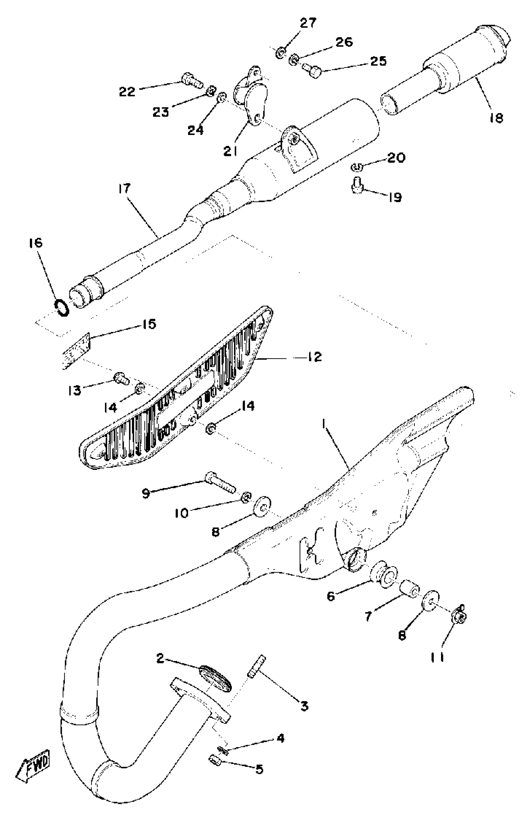
Yamaha TY175C (TY175) 1976 EXHAUST Diagram
#
Description
Price
1
EXHAUST PIPE ASSEMBLY L
(525-14610-01-00)
Unavailable
4
WASHER, SPRING
92995-06100-00
Unavailable
5
NUT, HEXAGON
95380-06600-00
Unavailable
11
NUT
(525-14681-00-00)
Unavailable
12
PROTECTOR, MUFF 1
(525-14718-00-U2)
Unavailable
15
EMBLEM, PROTECTOR
(525-14729-10-00)
Unavailable
16
O-RING (603)
93210-19026-00
Unavailable
17
SILENCER, EXHAUST
(525-14753-00-00)
Unavailable
18
PIPE, OUTLET
1M1-14752-01-00
Unavailable
19
SCREW PAN HEAD
98580-06010-00
Unavailable
20
WASHER, SPRING
92995-06100-00
Unavailable
21
STAY 5
363-14782-10-00
Unavailable
22
BOLT(JA9)
90101-08691-00
Unavailable
24
WASHER, PLAIN
92990-08200-00
Unavailable
25
BOLT, HEXAGON DEEP RECESS
97D95-06016-00
Unavailable
26
WASHER, SPRING
92995-06100-00
Unavailable
27
YBS66-6 WASHER, PLAIN
92990-06200-00
Unavailable
