- Partiron
- OEM Parts
- Yamaha
- motorcycle
- 1976
- TY175C (TY175) 1976
CARBURETOR
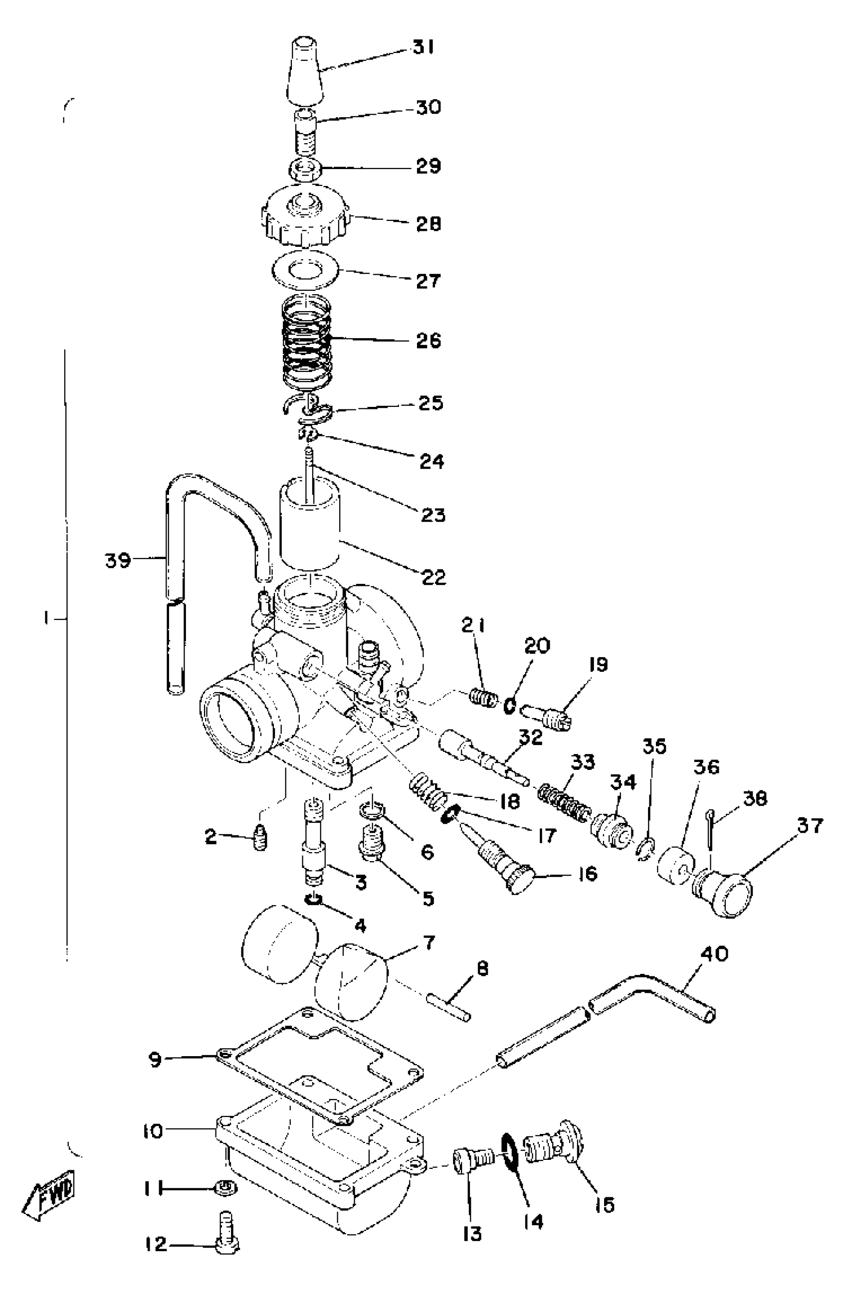
Yamaha TY175C (TY175) 1976 CARBURETOR Diagram
#
1
CARBURETOR ASSEMBLY 1
(525-14101-61-00)
Unavailable
3
NOZZLE, MAIN
(525-14141-30-00)
Unavailable
5
VALVE SEAT ASSY
353-14190-18-00
Unavailable
7
FLOAT
(525-14185-00-00)
Unavailable
10
BODY, FLOAT CHMBR 1
(493-14181-00-33)
Unavailable
13
JET, MAIN #250
137-14143-50-A1
Unavailable
14
O-RING (248)
93220-09001-00
Unavailable
15
BOLT, BANJO
(493-14166-00-00)
Unavailable
16
. SCREW, THROTTLE
493-14122-00-00
Unavailable
17
. O-RING
361-14147-00-00
Unavailable
18
. SPRING, THROTTLE STOP
493-14133-00-00
Unavailable
19
AIR SCREW SET
10W-14104-00-00
Unavailable
20
O-RING (493-CARB.)
354-14147-00-00
Unavailable
21
SPRING, AIR ADJUSTING
174-14134-00-00
Unavailable
22
VALVE, THROTTLE 1
(304-14112-30-00)
Unavailable
23
NEEDLE SET
18L-1490J-00-00
Unavailable
24
CLIP
3FA-14137-00-00
Unavailable
25
. SEAT, SPRING
137-14136-00-00
Unavailable
26
SPRING, THROTTLE VALVE
3X3-14131-00-00
Unavailable
27
GASKET
193-14126-00-00
Unavailable
28
TOP, MIXING CHAMBER
(525-14158-00-33)
Unavailable
29
NUT, WIRE ADJUSTING
802-14161-00-00
Unavailable
30
. SCREW, CABLE ADJUSTING
360-14124-20-00
Unavailable
31
CAP
(525-14169-00-00)
Unavailable
32
. PLUNGER, STARTER
304-14171-00-00
Unavailable
33
SPRING, PLUNGER
156-14135-00-00
Unavailable
34
CAP, PLUNGER
152-14174-00-00
Unavailable
35
. CLIP, PLUNGER
152-14138-00-00
Unavailable
36
COVER, PLUNGER CAP
132-14173-00-00
Unavailable
37
HOLDER
304-14261-00-00
Unavailable
38
PIN, COTTER
91490-16020-00
Unavailable
39
PIPE, AIRVENT
(313-14197-00-00)
Unavailable
40
PIPE
23F-14197-00-00
Unavailable
