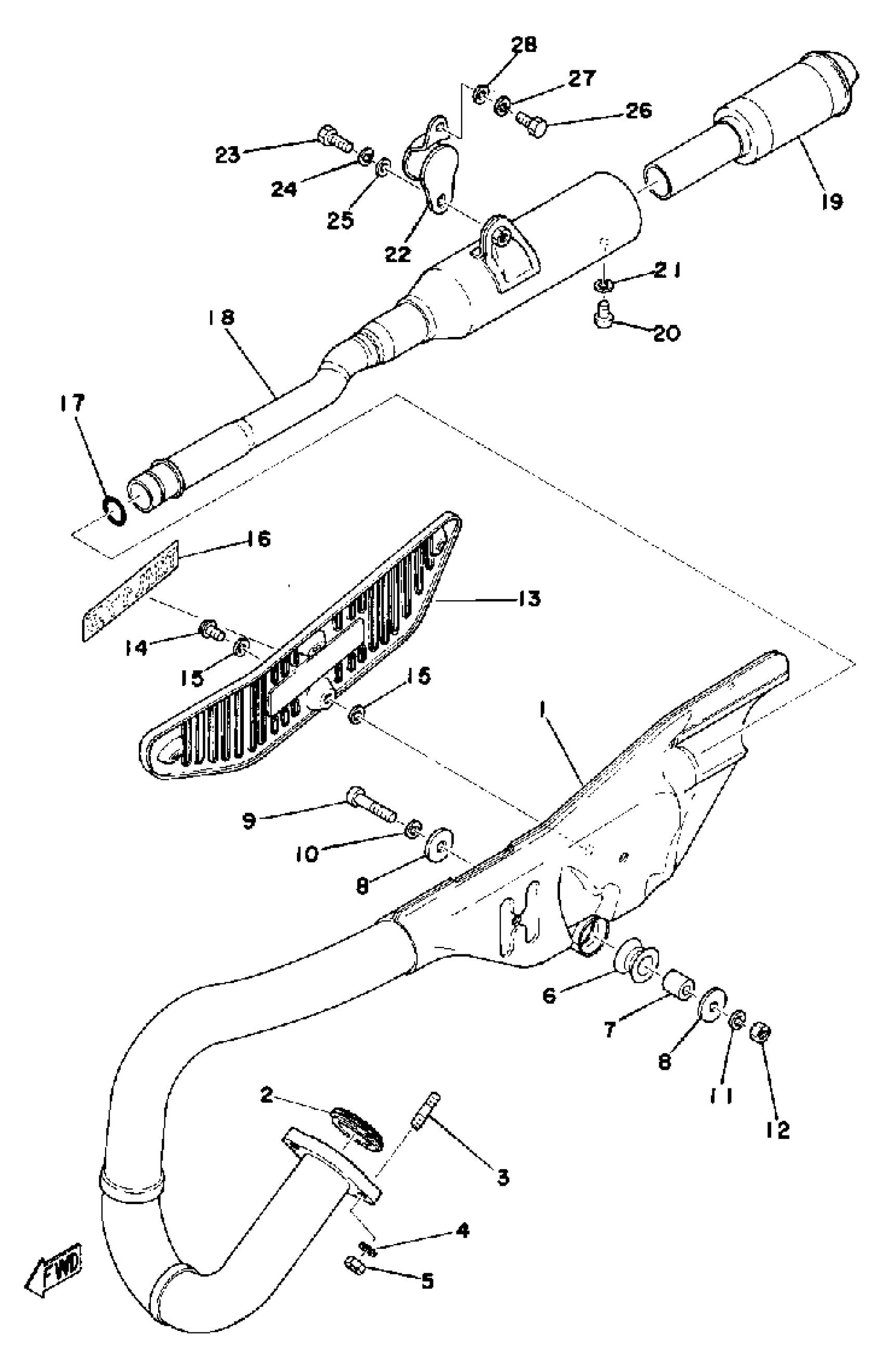
Yamaha TY175B (TY175) 1975 EXHAUST Diagram
#
Description
Price
1
EXHAUST PIPE ASSEMBLY L
(525-14610-01-00)
Unavailable
4
WASHER, SPRING
92995-06100-00
Unavailable
5
NUT, HEXAGON
95380-06600-00
Unavailable
10
TOOL
UNA-VAILA-BL-EI
Unavailable
12
NUT
(525-14681-00-00)
Unavailable
13
PROTECTOR, MUFF 1
(525-14718-00-26)
Unavailable
16
EMBLEM 7
(525-21787-00-00)
Unavailable
17
O-RING (603)
93210-19026-00
Unavailable
18
SILENCER, EXHAUST
(525-14753-00-00)
Unavailable
19
PIPE, OUTLET
1M1-14752-01-00
Unavailable
20
SCREW PAN HEAD
98580-06010-00
Unavailable
21
WASHER, SPRING
92995-06100-00
Unavailable
22
STAY 5
363-14782-10-00
Unavailable
23
BOLT(JA9)
90101-08691-00
Unavailable
25
.. WASHER, PLATE
92990-08600-00
Unavailable
26
BOLT, HEXAGON DEEP RECESS
97D95-06016-00
Unavailable
27
WASHER, SPRING
92995-06100-00
Unavailable
28
WASHER, PLAIN (646)
92990-06600-00
Unavailable
