- Partiron
- OEM Parts
- Yamaha
- snowmobile
- 1974
- TW433F 1974
OIL TANK - COOLER
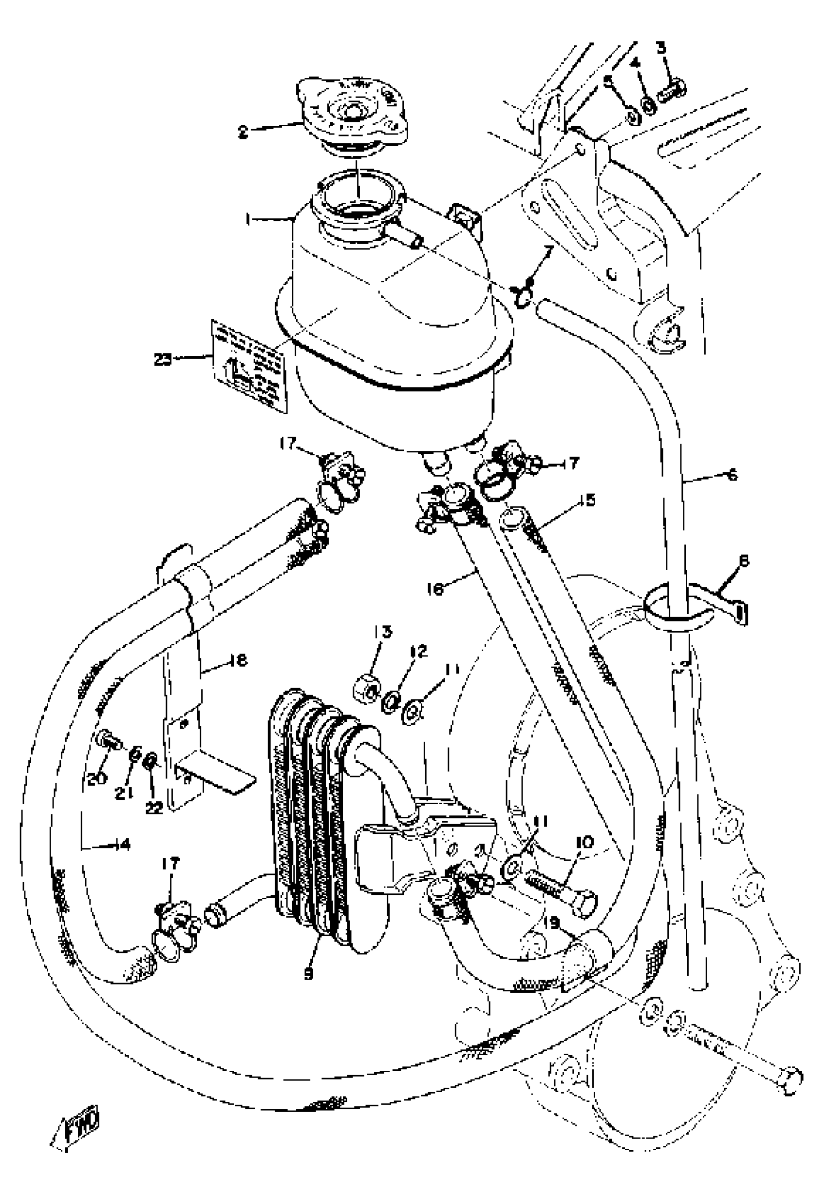
Yamaha TW433F 1974 OIL TANK - COOLER Diagram
#
Description
Price
1
TANK, TQ/CONV OIL
(868-21811-01-00)
Unavailable
4
WASHER, SPRING
92995-06100-00
Unavailable
6
HOSE
(90445-11154-00)
Unavailable
9
COOLER
(868-21841-00-00)
Unavailable
11
WASHER, PLAIN
92990-08200-00
Unavailable
13
NUT, HEXAGON
90170-08031-00
Unavailable
14
PIPE 1
(834-21816-00-00)
Unavailable
15
PIPE 2
(868-21817-00-00)
Unavailable
16
PIPE 3
(834-21818-00-00)
Unavailable
17
CLAMP, HOSE (834-21822-00)
90460-19039-00
Unavailable
18
BINDER, HOSE
(852-21836-01-00)
Unavailable
19
CLAMP
(90465-10018-00)
Unavailable
20
SCREW, PAN HEAD(62X)
97885-05010-00
Unavailable
21
YBS67-5 WASHER, SPRING
92990-05100-00
Unavailable
22
. WASHER, PLAIN
92990-05200-00
Unavailable
23
ORMNT, TQ/CONV TANK
(852-21835-00-00)
Unavailable
