- Partiron
- OEM Parts
- Yamaha
- motorcycle
- 1987
- TW200TC (TRAILWAY) 1987
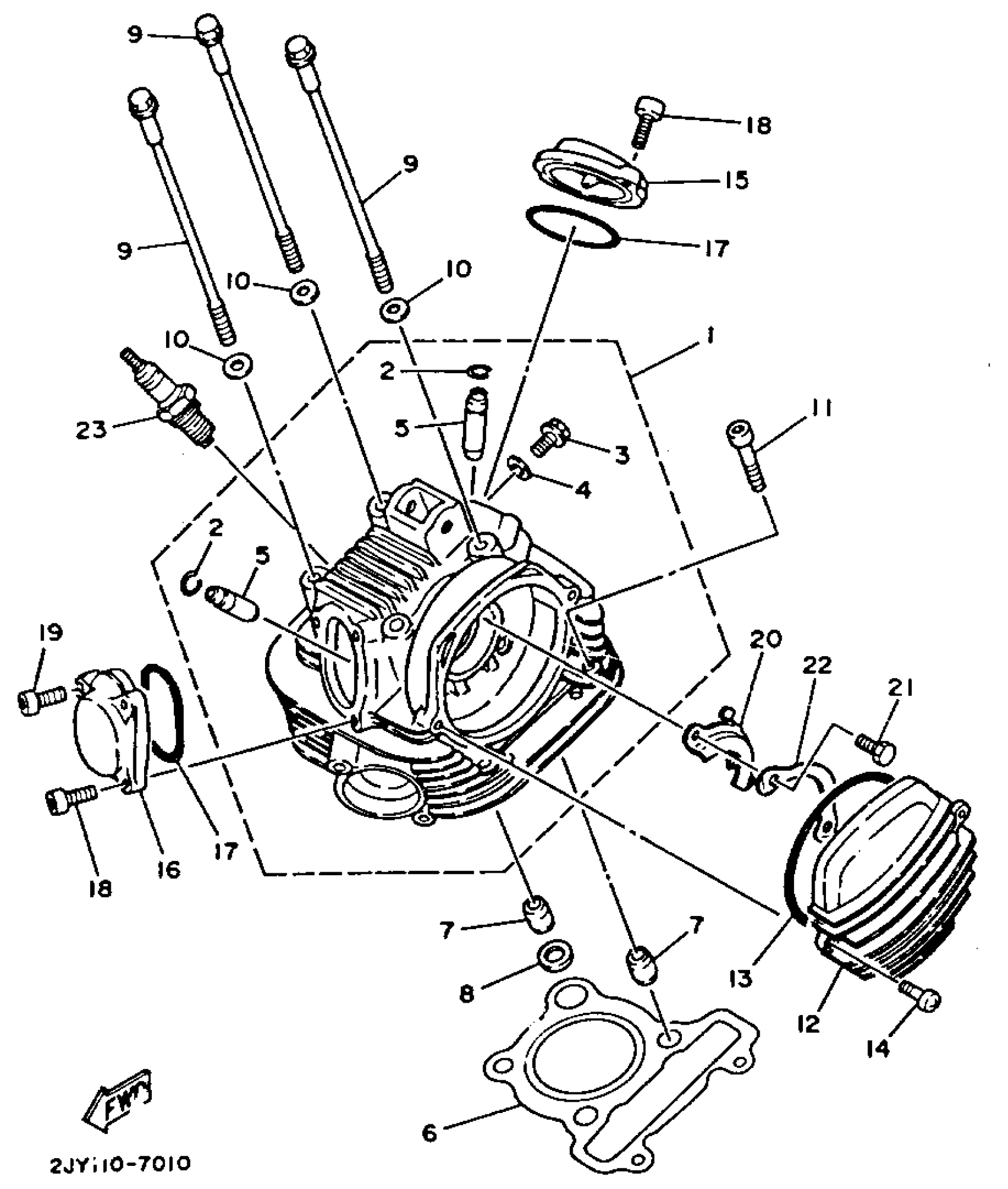
CYLINDER HEAD
Yamaha TW200TC (TRAILWAY) 1987 CYLINDER HEAD Diagram
#
Description
Price
4
GASKET 256113960000
90430-06014-00
Unavailable
11
BOLT, SOCKET
91317-08045-00
Unavailable
15
COVER, CYLINDER HEAD SIDE 2
15A-11186-00-00
Unavailable
16
COVER, CYLINDER HEAD SIDE 3
15A-11187-00-00
Unavailable
17
O-RING
93210-57634-00
Unavailable
18
BOLT,SOCKET
91317-06018-00
Unavailable
19
BOLT,SOCKET
91317-06018-00
Unavailable
20
PLATE
5H0-1111F-00-00
Unavailable
21
BOLT (661)
97013-06012-00
Unavailable
22
WASHER, LOCK (5H0)
90215-06184-00
Unavailable
23
D8EA NGK SPLUG 10PK
D8E-A0000-00-00
Unavailable
