Partiron

Yamaha TW200T2C (TW200) DC69 2026 STARTING MOTOR Diagram

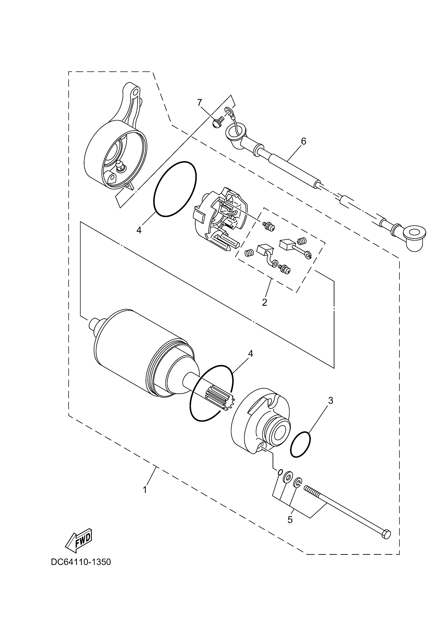
#

Description
Price

1

MOTOR ASSY

2JX-81890-07-00

Unavailable

2

BRUSH SET

3C5-81801-00-00

$23.99

3

O-RING(1RL)

93210-25711-00

$7.49

4

O-RING(50M)

93210-55669-00

$8.49

5

BOLT 2

59V-81828-M0-00

$16.49

6

. CORD COMP

3RW-8183G-00-00

Unavailable

7

SCREW, WITH WASHER

97607-05108-00

Unavailable