Partiron

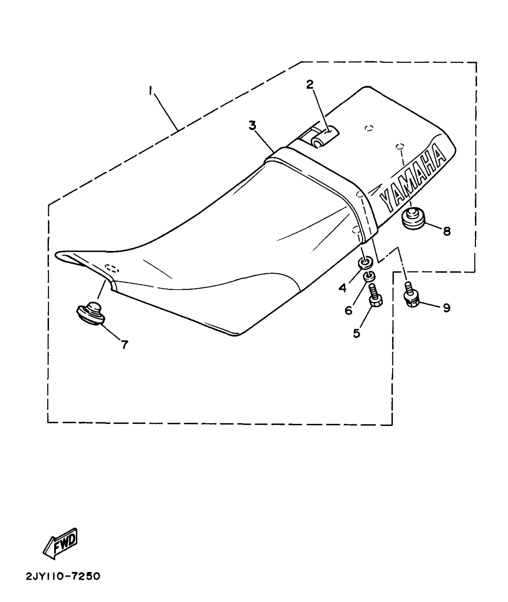
Yamaha TW200JC (TRAILWAY CA) 3AWU 1997 SEAT Diagram

#

Description
Price

1

SEMI-DOUBLE SEAT ASSEMBLY

2JX-24770-60-00

Unavailable

2

. COVER, SEAT

2JX-24731-60-00

Unavailable

3

. BAND, SEAT

2JX-24734-60-00

Unavailable

4

WASHER, PLATE

90201-06020-00

$9.49

5

BOLT, HEXAGON

97017-06020-00

$4.06

6

WASHER, SPRING

92907-06100-00

$4.25

7

DAMPER, SEAT

18A-24723-00-00

$8.99

8

PAD, SEAT

1L9-24741-00-00

$9.99

9

BOLT, WITH WASHER (10V)

90119-06063-00

$9.49