Partiron

Yamaha TW200JC (TRAILWAY CA) 3AWU 1997 REAR SUSPENSION Diagram

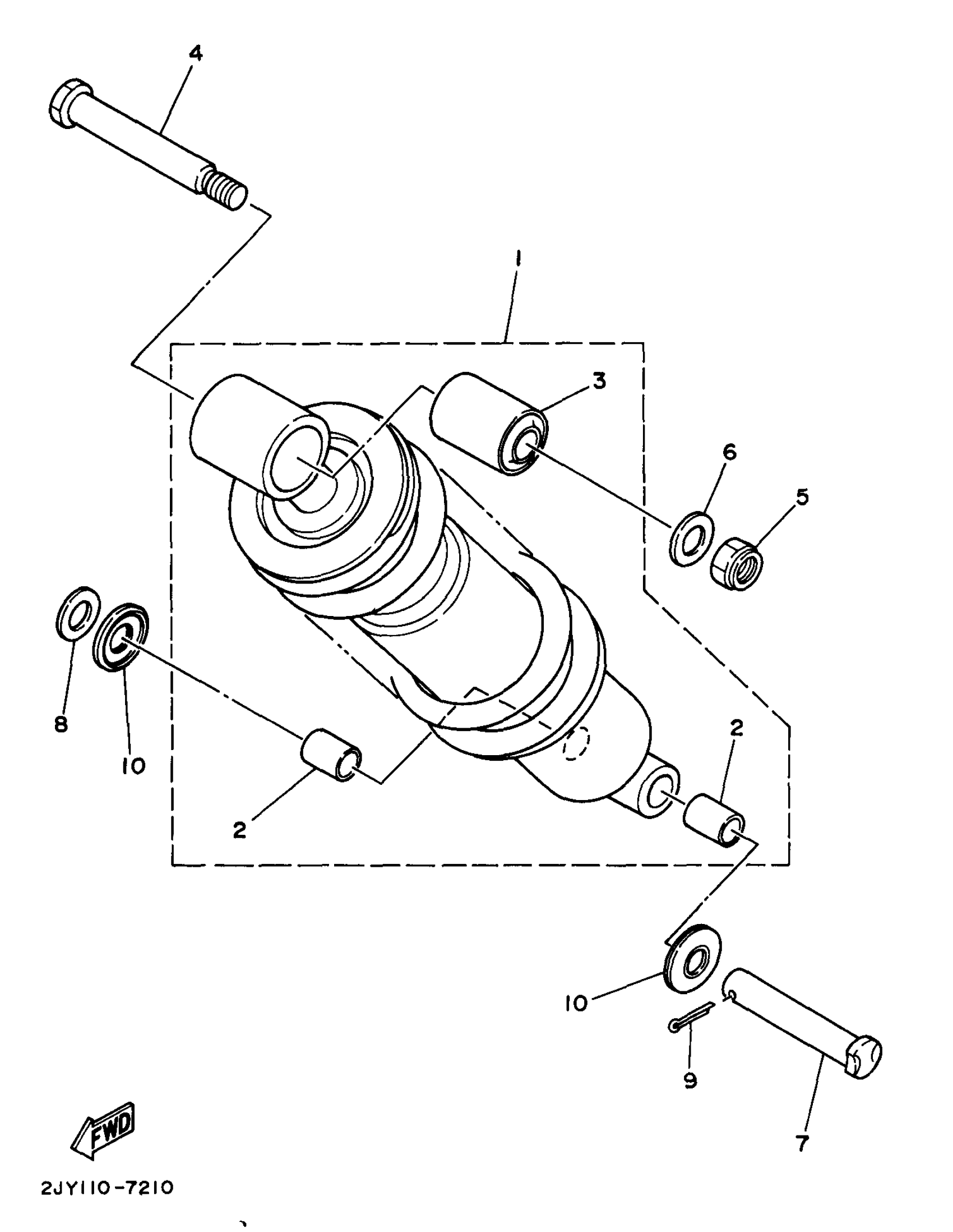
#

Description
Price

1

SHOCK ABSORBER ASSY, REAR

5FY-22210-10-P0

Unavailable

2

BUSH, SOLID (1M1)

90380-12051-00

$15.99

3

BUSH, REAR CUSHION

1M1-22216-00-00

Unavailable

4

BOLT(1KH)

90109-100E2-00

Unavailable

5

NUT, U

95617-10100-00

$8.49

6

WASHER, PLATE(6TC)

90201-10M05-00

$5.60

7

PIN, CLEVIS (3Y2)

90240-12075-00

Unavailable

8

WASHER PLATE 122222440000

90201-12175-00

Unavailable

9

PIN, COTTER

91490-30030-00

$8.49

10

COVER, THRUST 2

30X-22129-00-00

$20.99