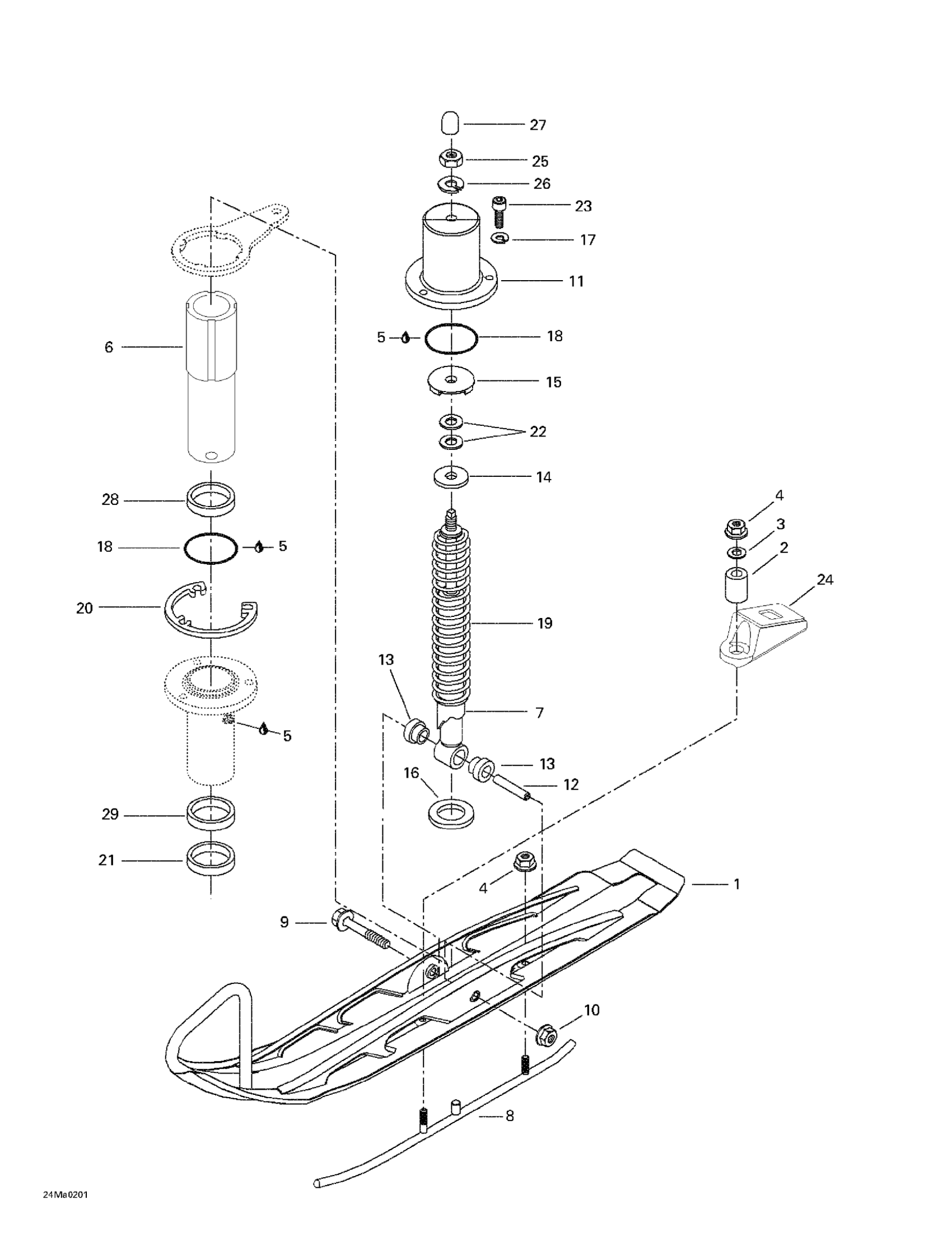
Ski-Doo Tundra R, 2002 Front Suspension And Ski Diagram
#
Description
Price
1
PAINT SKI - Call your local BRP dealership
505070203
Unavailable
2
BUSHING - Call your local BRP dealership
506117300
Unavailable
5
SYNTHETIC GREASE, 400 G - Call your local BRP dealership
219700417
Unavailable
6
Ski Leg
506070800
Unavailable
7
SHOCK - Call your local BRP dealership
505070014
Unavailable
8
Wekded Ski Runner
505070264
Unavailable
9
HEX. SCREW M10 X 110 - Call your local BRP dealership
230001044
Unavailable
11
Paint Cover
518203200
Unavailable
12
Bushing
503156400
Unavailable
14
Washer
518203400
Unavailable
16
WASHER - Call your local BRP dealership
505070192
Unavailable
19
Black Spring
505070130
Unavailable
20
SPACER - Call your local BRP dealership
503145600
Unavailable
24
Stopper
505070230
Unavailable
26
Lock Washer M10
234101402
Unavailable
27
Cap
414877100
Unavailable
