- Partiron
- OEM Parts
- Suzuki
- Motorcycle
- 2017
- TU250XL7 (2017)
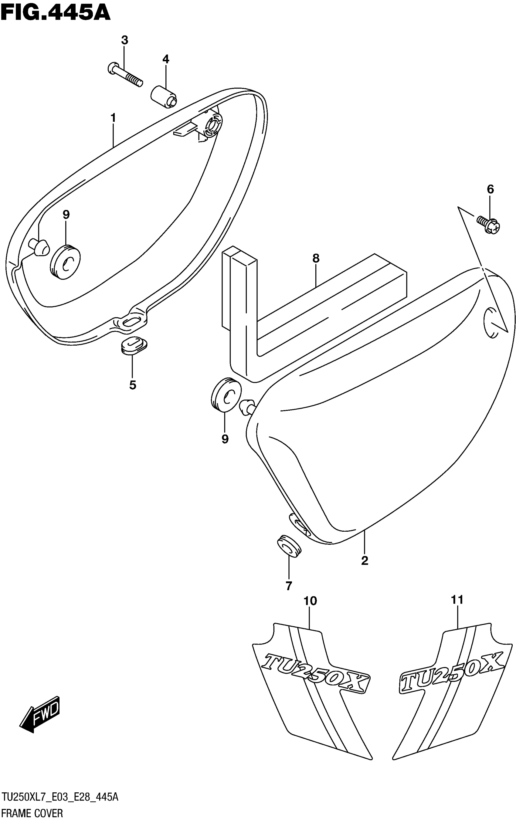
FRAME COVER
Suzuki TU250XL7 (2017) FRAME COVER Diagram
#
Description
Price
8
CUSHION, FRAME COVER
47160-26G00
Unavailable
FRAME COVER
#
8
47160-26G00
Unavailable
Edit ride
