Partiron

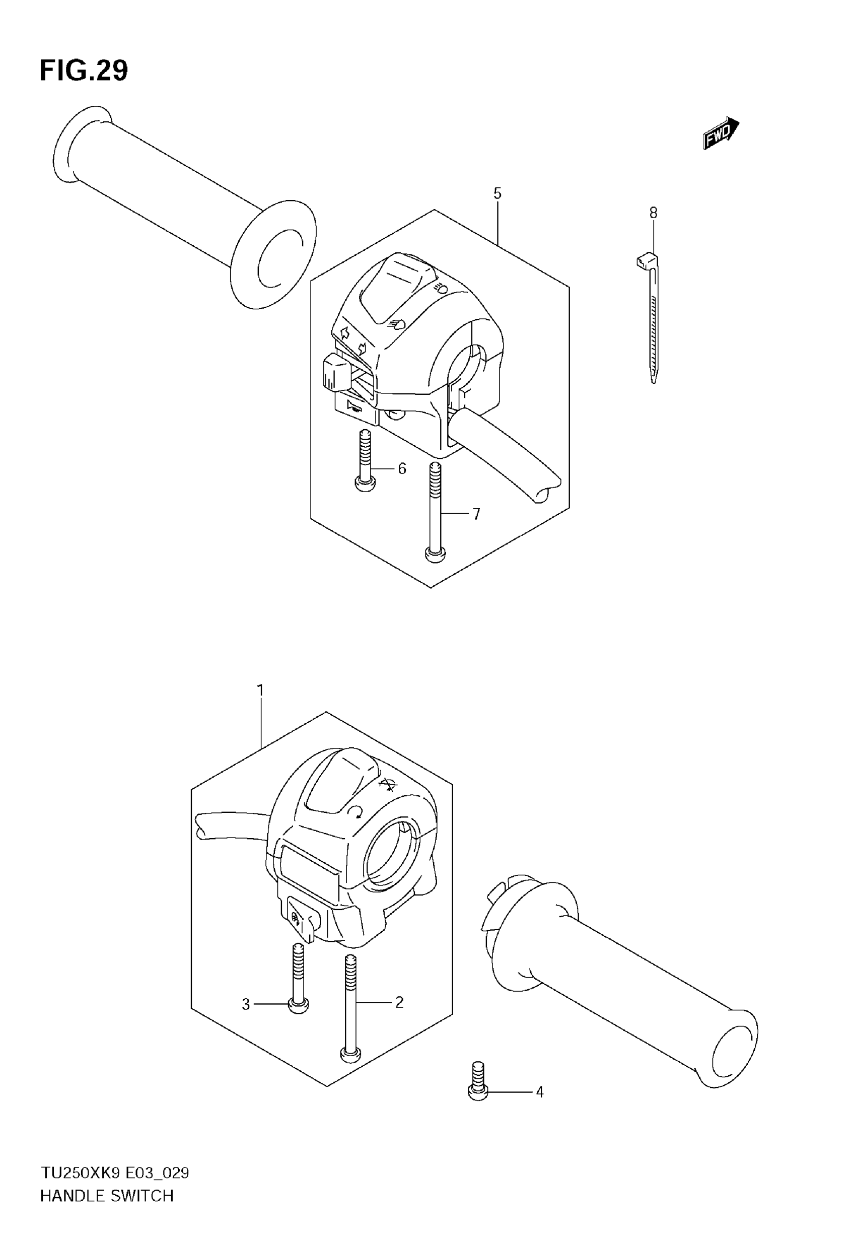
Suzuki TU250X (2009) HANDLE SWITCH Diagram

#

Description
Price

1

SWITCH ASSY, HANDLE RH | Includes Item(s) 2 - 3 This part replaces 37200-25DA0.

37200-25DA1

$162.18

2

SCREW

02112-0550B

$2.39

3

SCREW

02112-0530B

$1.49

4

SCREW

02112-0510B

$2.08

5

SWITCH ASSY, HANDLE, L | Includes Item(s) 6 - 7

37400-25D50

$219.18

6

SCREW

02112-0525B

$1.84

7

SCREW

02112-0545B

$2.26

8

CLAMP (L:145)

09407-14407

$3.57