- Partiron
- OEM Parts
- Yamaha
- motorcycle
- 2002
- TTR90P (TTR90) 5HN8 2002
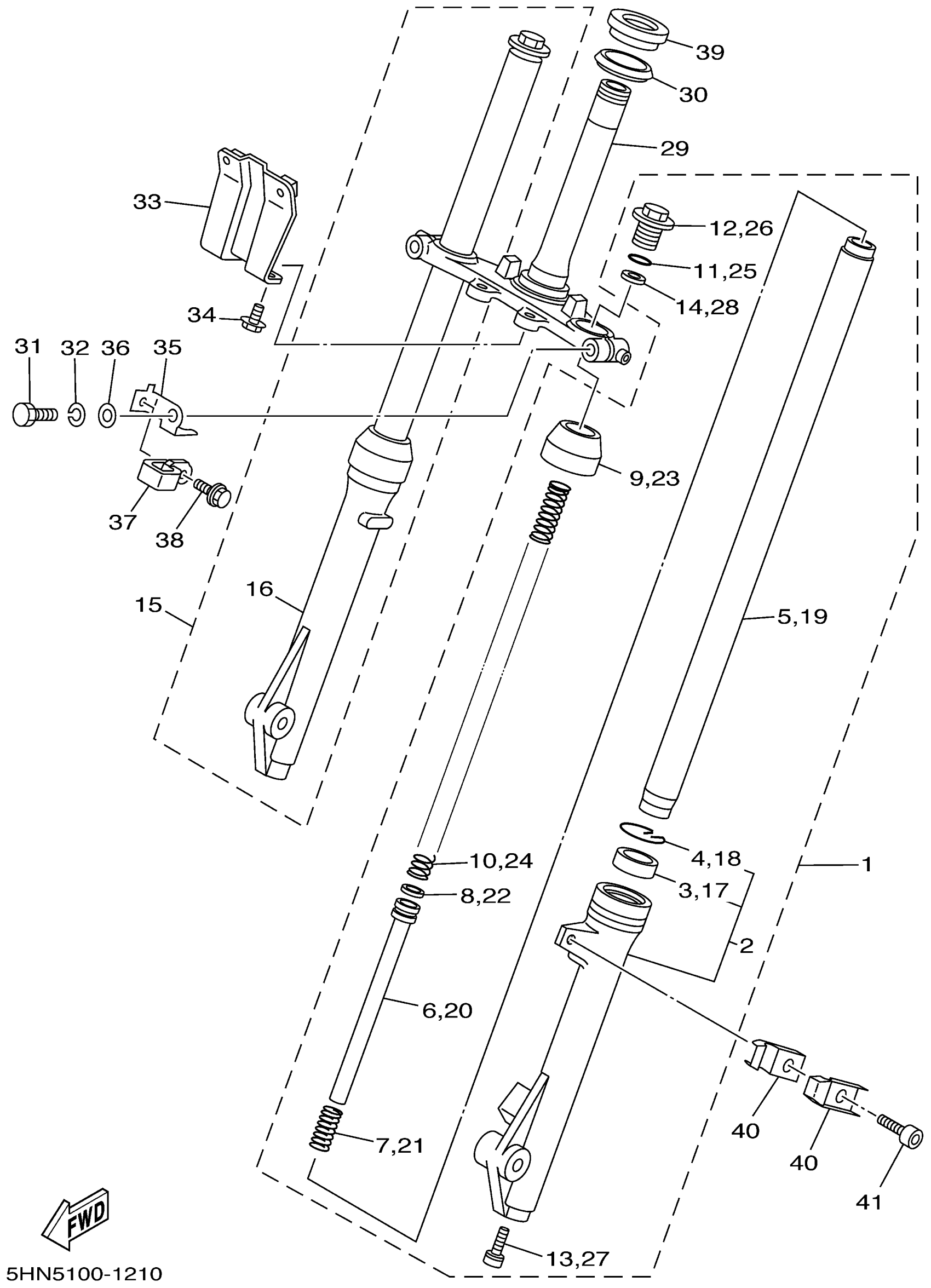
FRONT FORK
Yamaha TTR90P (TTR90) 5HN8 2002 FRONT FORK Diagram
#
Description
Price
1
FRONT FORK ASSY (L.H)
5HN-23102-01-00
Unavailable
2
TUBE, OUTER (LEFT)
3RV-23126-01-00
Unavailable
5
INNER TUBE COMP. 1
21W-23110-00-00
Unavailable
6
. CYLINDER COMP, FRONT FORK
5HN-23170-00-00
Unavailable
15
FRONT FORK ASSY (R.H)
5HN-23103-01-00
Unavailable
16
TUBE, OUTER (RIGHT)
3RV-23136-01-00
Unavailable
19
INNER TUBE COMP. 1
21W-23110-00-00
Unavailable
20
. CYLINDER COMP, FRONT FORK
5HN-23170-00-00
Unavailable
29
UNDER BRACKET COMP.
5HN-23340-00-00
Unavailable
30
SEAL, DUST
164-23462-00-00
Unavailable
31
BOLT
451-23346-01-00
Unavailable
32
YBS67-10 WASHER, SPRING
92990-10100-00
Unavailable
33
STAY, PLATE
5HN-23486-00-00
Unavailable
34
BOLT
5HN-23492-00-00
Unavailable
35
BRACKET 1
5HN-2334G-00-00
Unavailable
36
WASHER, PLATE
92990-10600-00
Unavailable
37
HOLDER
5HN-23857-00-00
Unavailable
38
BOLT, WASHER BASED
90105-05002-00
Unavailable
39
BEARING(4HC)
93399-99942-00
Unavailable
40
CLAMP (3R0)
90462-14055-00
Unavailable
41
BOLT,SOCKET
91317-06012-00
Unavailable
