- Partiron
- OEM Parts
- Yamaha
- motorcycle
- 2001
- TTR90N (TTR90) 5HN5 2001
CARBURETOR
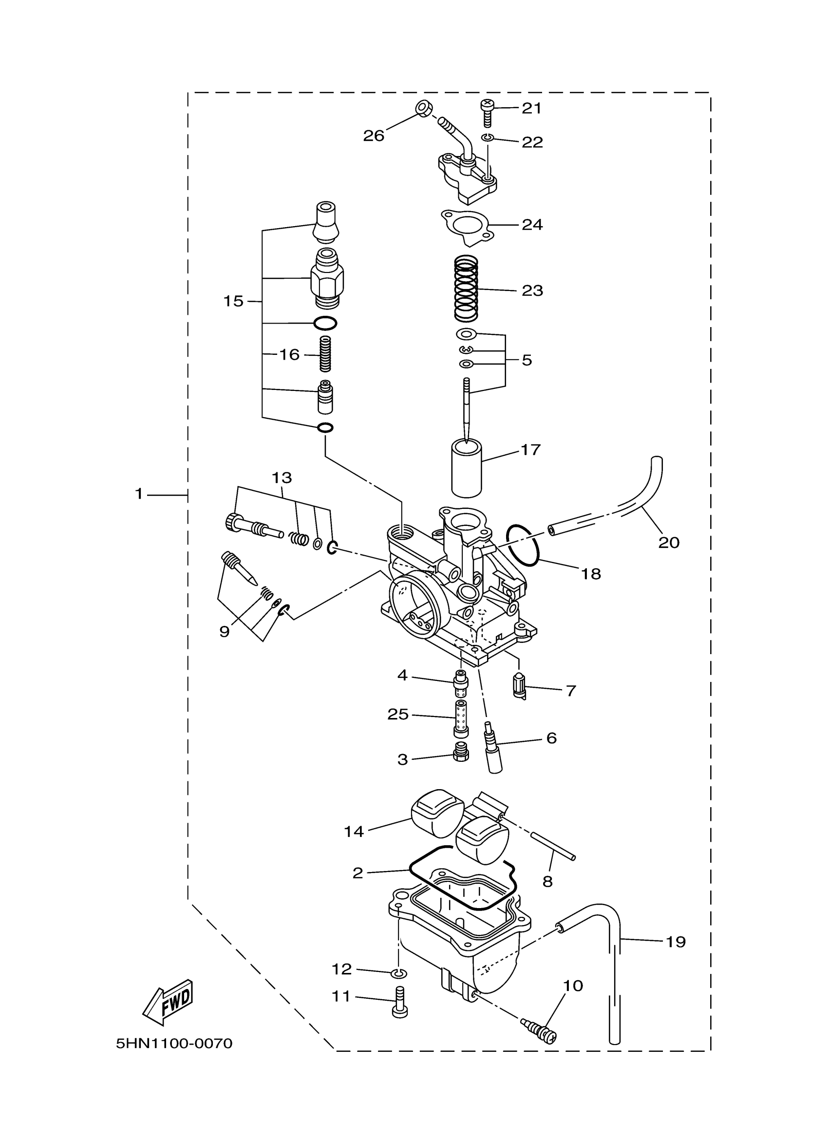
Yamaha TTR90N (TTR90) 5HN5 2001 CARBURETOR Diagram
#
Description
Price
3
JET, MA1N #90
18A-14143-18-00
Unavailable
5
. NEEDLE SET
5HN-1490J-00-00
Unavailable
13
THROTTLE SCREW SET
4GL-14103-00-00
Unavailable
14
FLOAT
5DV-14985-00-00
Unavailable
16
SPRING, PLUNGER
5HN-14135-00-00
Unavailable
17
VALVE, THROTTLE 1
5HN-14112-25-00
Unavailable
18
O-RING
241-14147-00-00
Unavailable
19
PIPE 1
4GL-14348-00-00
Unavailable
20
. HOSE
5HN-14987-00-00
Unavailable
21
SCREW, PAN HEAD
98517-04012-00
Unavailable
23
SPRING
4NM-14275-00-00
Unavailable
24
GASKET
4NM-14198-00-00
Unavailable
25
PIPE
5HN-14148-00-00
Unavailable
26
NUT, CABLE ADJUSTING
522-14161-00-00
Unavailable
