- Partiron
- OEM Parts
- Yamaha
- motorcycle
- 2005
- TTR90ET (TT-R90E) 5HNT 2005
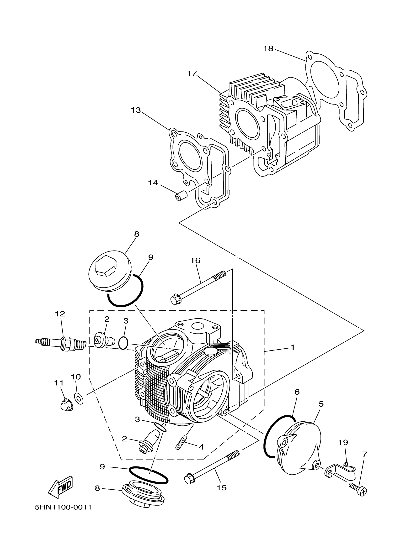
CYLINDER HEAD
Yamaha TTR90ET (TT-R90E) 5HNT 2005 CYLINDER HEAD Diagram
#
Description
Price
1
CYLINDER HEAD ASSY
4GL-11110-11-00
Unavailable
3
O-RING (4A0)
93210-09418-00
Unavailable
5
COVER, CYLINDER HEAD SIDE 1
50M-11185-10-00
Unavailable
12
CR6HS-A NGK SPLUG 4PK
CR6-HSA00-00-00
Unavailable
12
CR6HS-A NGK SPLUG 4PK
CR6-HSA00-00-00
Unavailable
15
BOLT, FLANGE(4NM)
95027-06085-00
Unavailable
16
BOLT, FLANGE(4NM)
95027-06085-00
Unavailable
17
CYLINDER 1
4GL-11311-01-00
Unavailable
18
GASKET, CYLINDER
5HN-11351-00-00
Unavailable
19
CLAMP (22K)
90465-08230-00
Unavailable
