Partiron

Yamaha TTR50EX (TTR50E) 1P67 2008 STARTING MOTOR Diagram

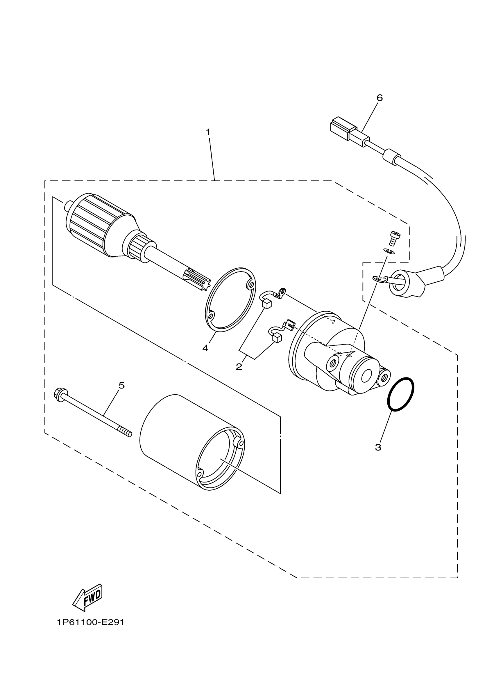
#

Description
Price

1

STARTING MOTOR

1P6-H1890-00-00

$254.99

2

BRUSH SET

4RT-H1801-00-00

$40.99

3

O-RING (35R)

93210-23614-00

$7.49

4

O-RING (50W)

93210-44678-00

$5.60

5

BOLT 2

5WV-H1828-00-00

$12.99

6

CORD COMP.

1P6-H183G-00-00

$35.99