Partiron

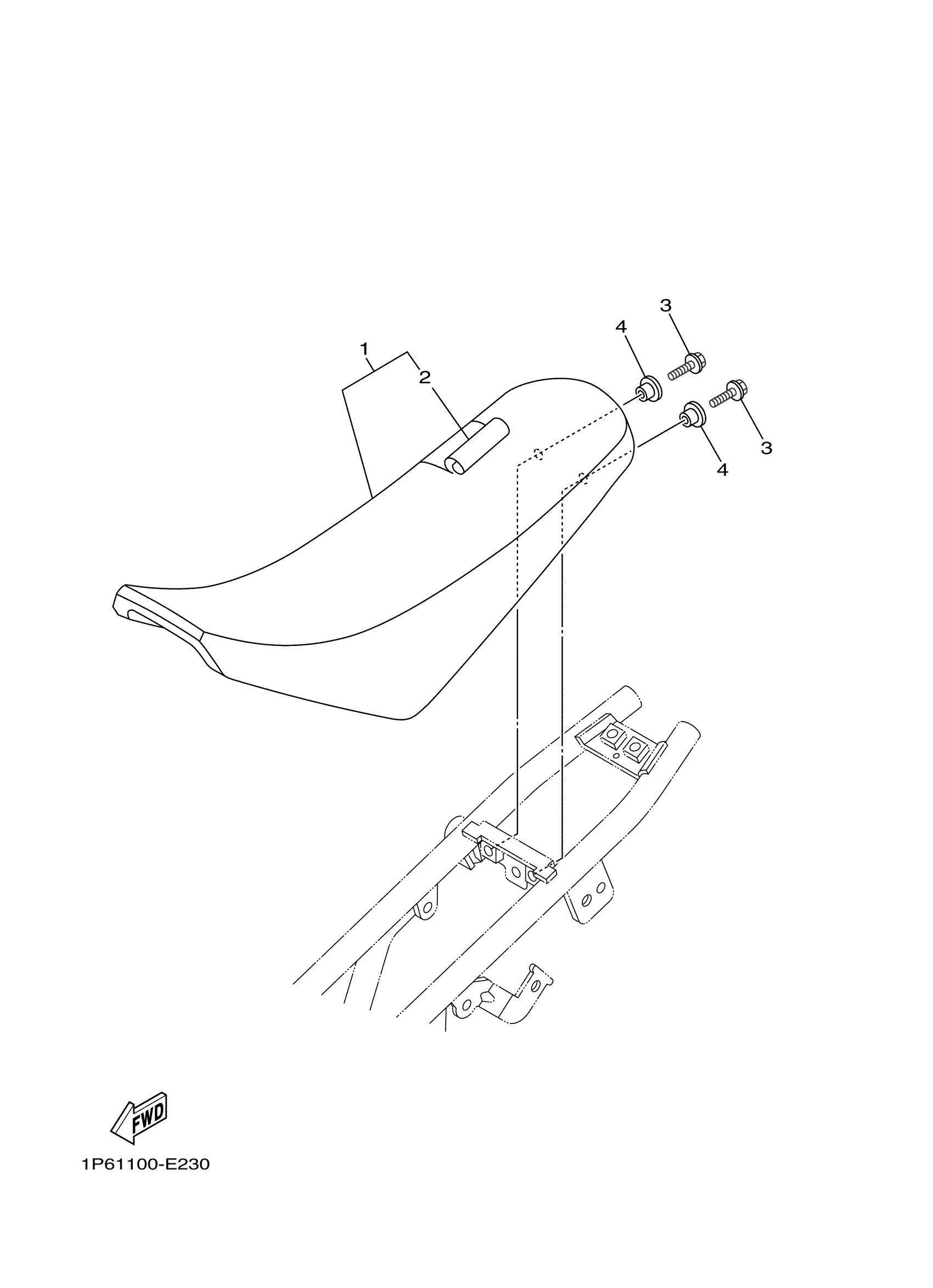
Yamaha TTR50EX (TTR50E) 1P67 2008 SEAT Diagram

#

Description
Price

1

SEMI-DOUBLE SEAT ASSY

1P6-F4770-00-00

$225.99

2

SEAT COVER COMP.

1P6-F470F-00-00

$134.99

3

BOLT,HEX.HEADW/WASHER

97502-06520-00

$2.60

4

COLLAR

90387-06859-00

$3.50