Partiron

Yamaha TTR50EX (TTR50E) 1P67 2008 FENDER Diagram

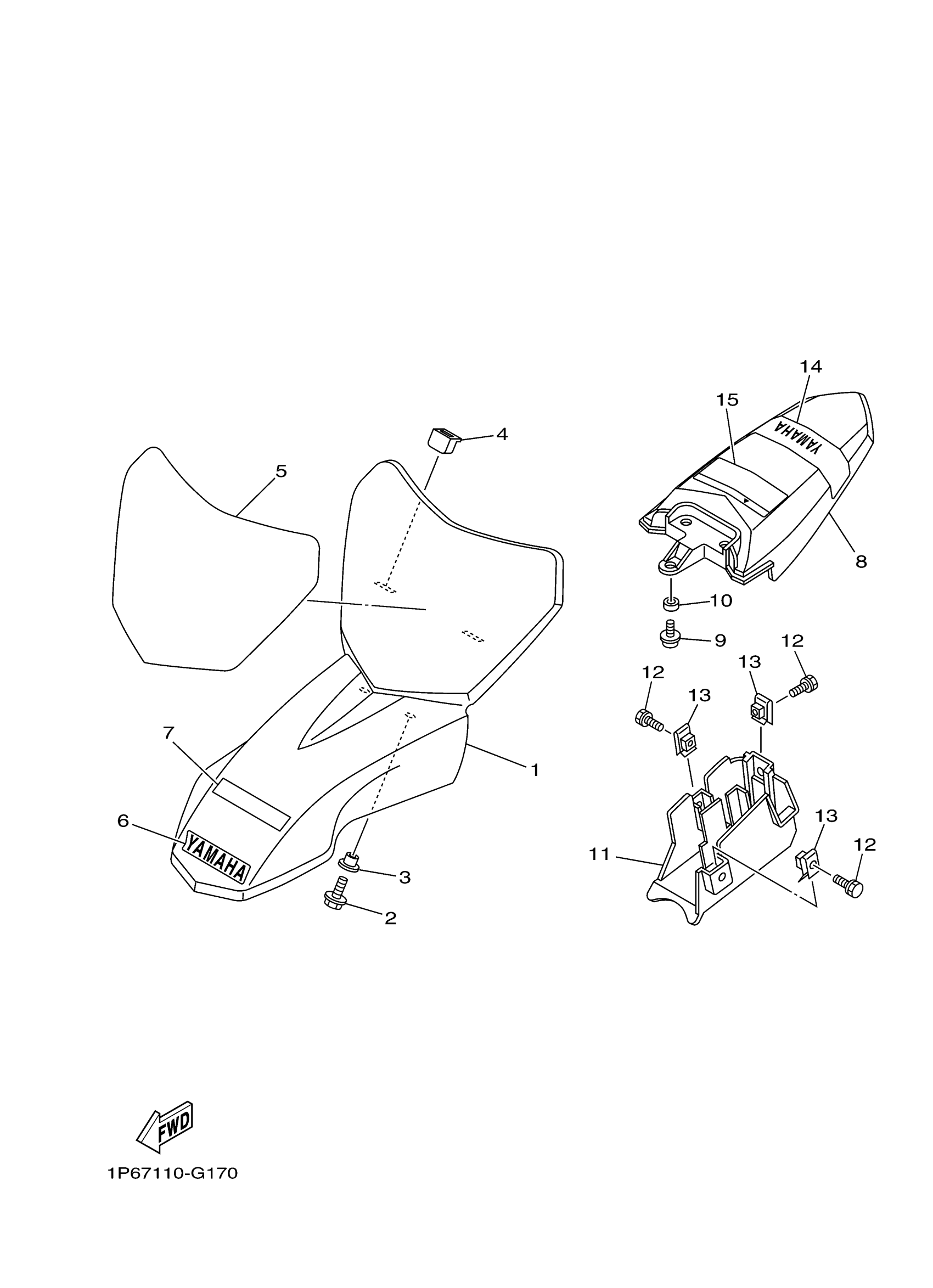
#

Description
Price

1

FENDER

1P6-F1511-00-00

$58.99

2

BOLT, FLANGE

95817-06012-00

$1.43

3

COLLAR

90387-07818-00

$8.49

4

GROMMET

90480-16185-00

$8.49

5

GRAPHIC 1

1P6-F1569-10-00

$30.99

6

EMBLEM, YAMAHA

1P6-F153E-10-00

$11.99

7

LABEL 1

1P6-F151A-00-00

Unavailable

8

FENDER

1P6-F1611-00-00

$49.99

9

SCREW, WITH WASHER(3YJ)

90159-06182-00

$9.49

10

COLLAR

90387-07808-00

$7.49

11

BOX

1P6-F160E-01-00

$22.99

12

BOLT,HEX.HEADW/WASHER

97502-06514-00

$3.28

13

NUT, SPRING (26H)

90183-06023-00

$9.49

14

EMBLEM 1

1P6-F163G-30-00

$15.49

15

LABEL, CAUTION

3PT-2118K-A2-00

$5.49