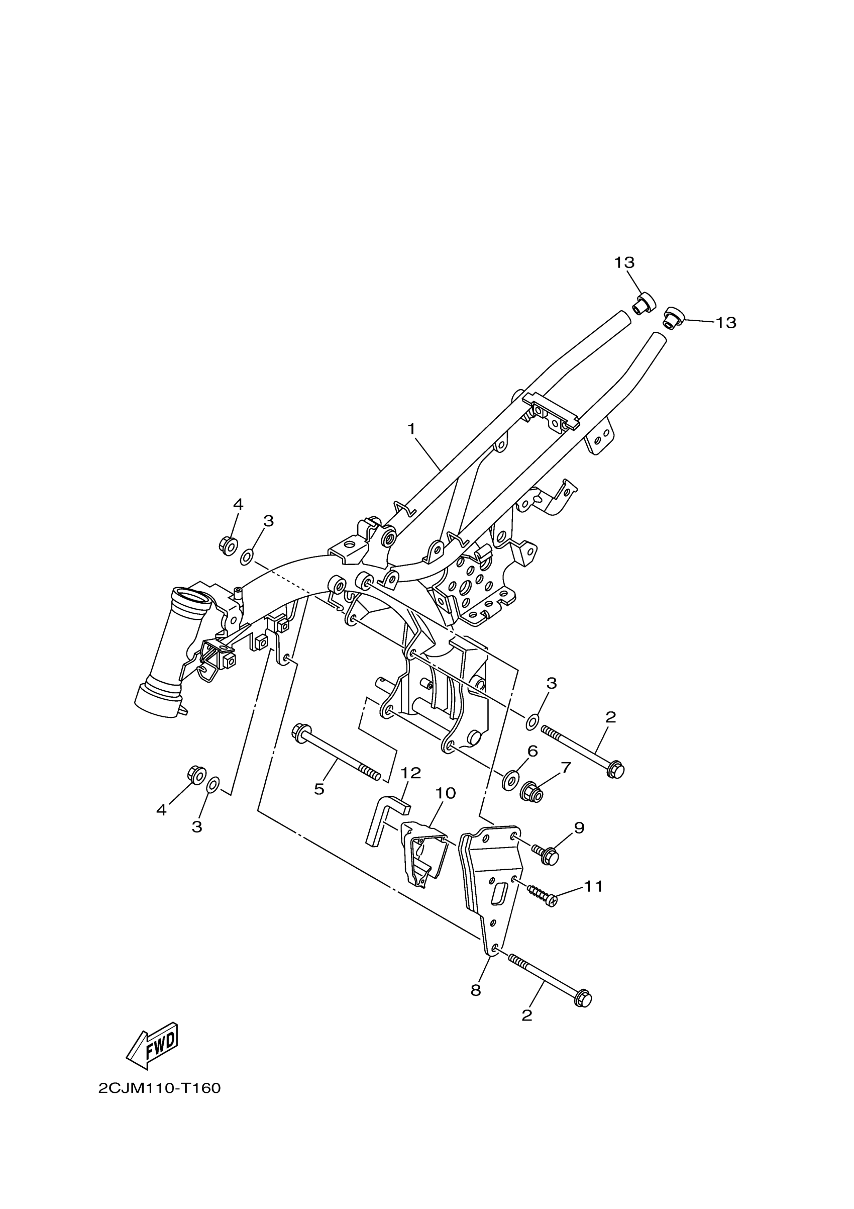
Yamaha TTR50ETC (TTR50E) DP62 2026 FRAME Diagram
#
Description
Price
1
FRAME COMP.
2CJ-F1110-00-00
Unavailable
8
STAY, ENGINE 7
1P6-F1387-10-00
Unavailable
10
COVER
1P6-F117F-10-00
Unavailable
12
DAMPER, PLATE
90520-20807-00
Unavailable
