- Partiron
- OEM Parts
- Yamaha
- motorcycle
- 2023
- TTR50EPC (TTR50E CA) BEGF 2023
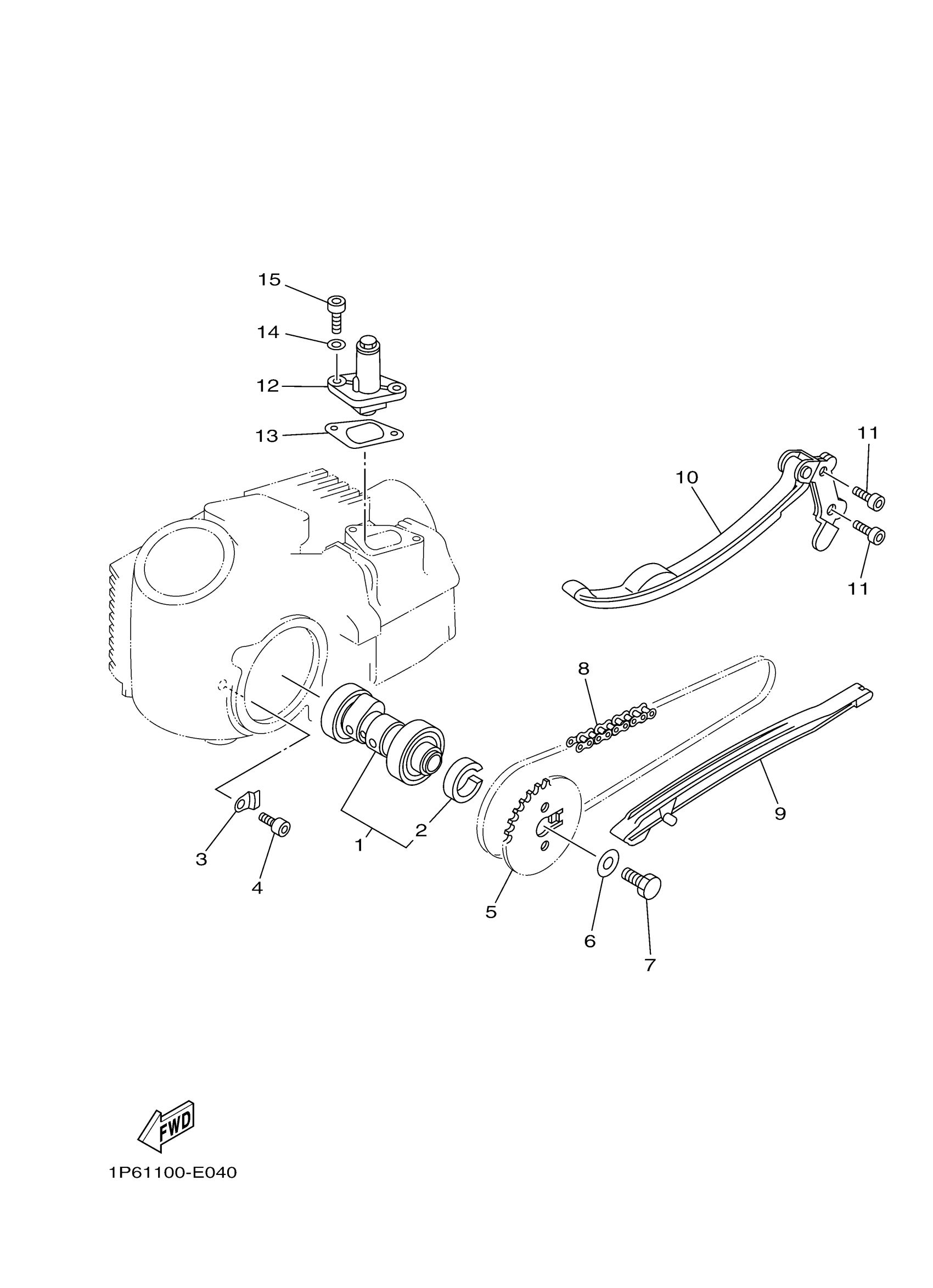
CAMSHAFT & CHAIN
Yamaha TTR50EPC (TTR50E CA) BEGF 2023 CAMSHAFT & CHAIN Diagram
#
Description
Price
1
CAM SHAFT ASSY.
1P6-E2170-00-00
Unavailable
2
COLLAR(50M)
90387-167L5-00
Unavailable
3
PLATE
1P6-E111F-00-00
Unavailable
4
BOLT,HEXAGON SOCKET HEAD
90110-06829-00
Unavailable
14
GASKET 256113960000
90430-06014-00
Unavailable
