- Partiron
- OEM Parts
- Yamaha
- motorcycle
- 2019
- TTR50EK (TTR50E) 2CJS 2019
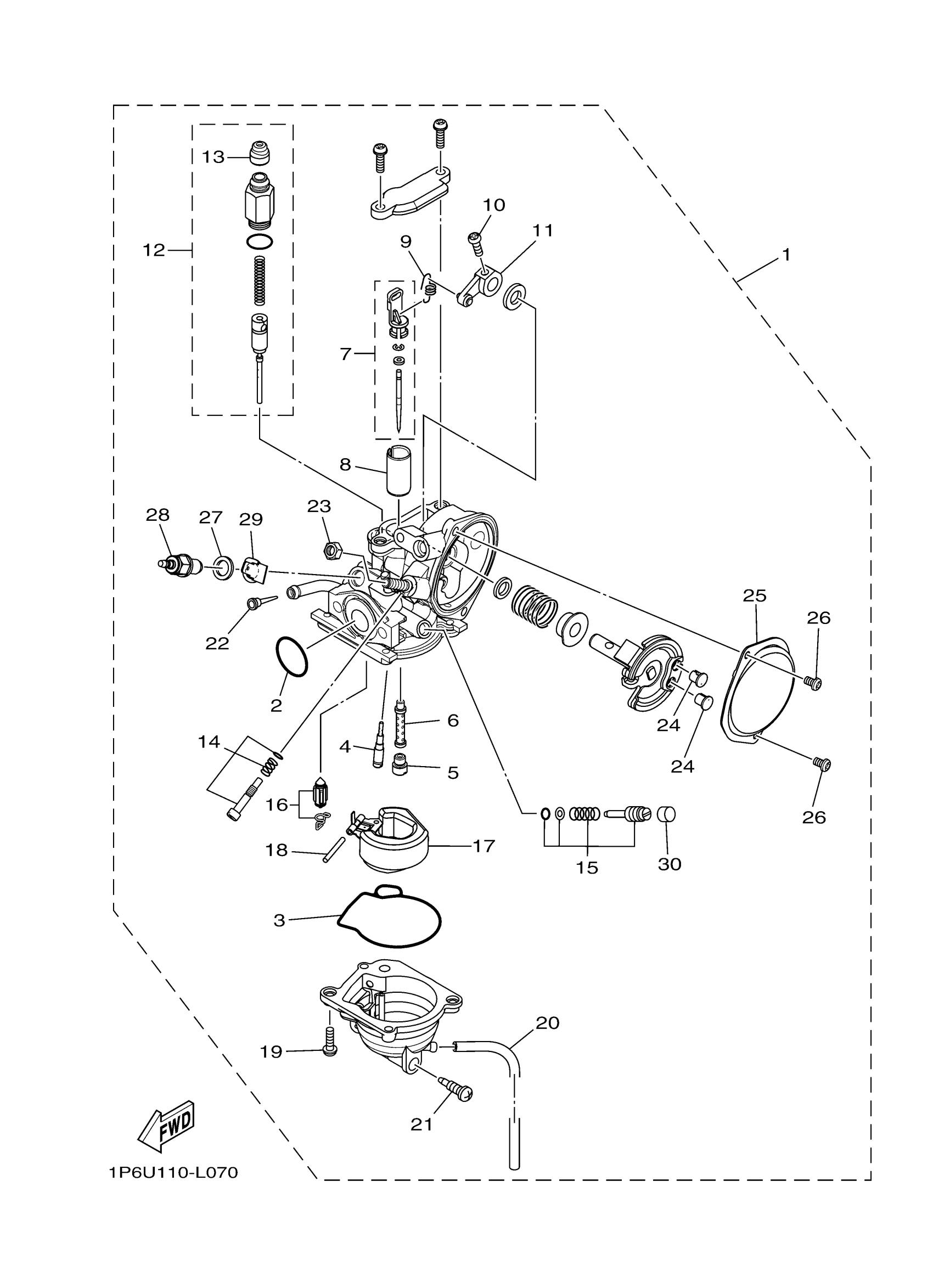
CARBURETOR
Yamaha TTR50EK (TTR50E) 2CJS 2019 CARBURETOR Diagram
#
Description
Price
7
NEEDLE SET
1P6-1490J-10-00
Unavailable
8
VALVE, THROTTLE 2
1P6-1411F-25-00
Unavailable
9
SPRING
1P6-14935-00-00
Unavailable
11
LEVER ASSY
1P6-14905-00-00
Unavailable
14
THROTTLE SCREW SET
1B2-14103-00-00
Unavailable
16
NEEDLE VALVE SET
1P6-14107-20-00
Unavailable
17
FLOAT
1P6-14185-00-00
Unavailable
18
PIN, FLOAT
53L-14186-00-00
Unavailable
19
SCREW,W/WASHER
97607-04114-00
Unavailable
20
PIPE
1P6-14196-00-00
Unavailable
21
PLUG, DRAIN
5LW-14191-00-00
Unavailable
22
NET, FILTER
5LW-14994-00-00
Unavailable
23
NUT, CABLE ADJUSTING
522-14161-00-00
Unavailable
24
GUIDE, CABLE
1UY-14155-00-00
Unavailable
25
COVER 1
1P6-14293-00-00
Unavailable
26
SCREW, PAN HEAD(3XP)
98517-04006-00
Unavailable
27
WASHER
5CY-14951-00-00
Unavailable
28
HEATER ASSY
5FU-83790-00-00
Unavailable
29
TERMINAL 1
5FU-82103-00-00
Unavailable
30
CAP
3F9-14118-00-00
Unavailable
