Yamaha TTR50EG (TTR50E) 2CJD 2016 FRAME Diagram
#
Description
Price
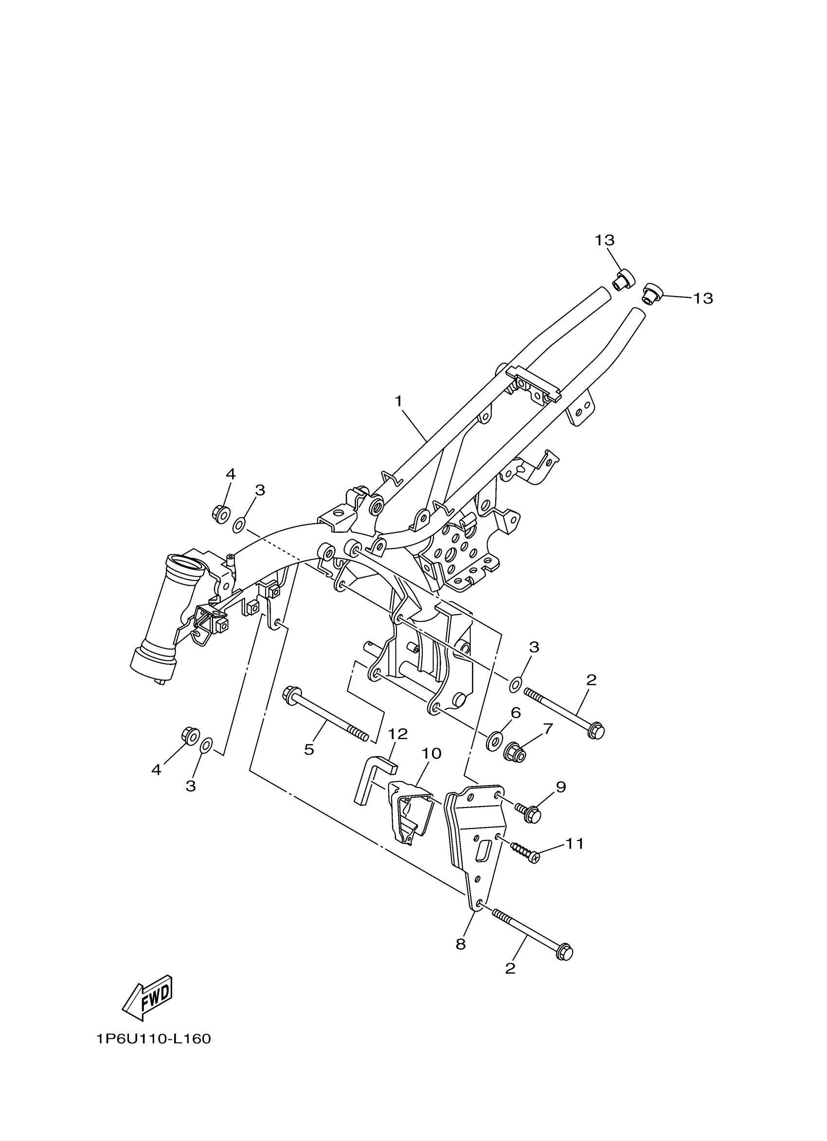
1
FRAME COMP.
1P6-F1110-40-00
Unavailable
8
STAY, ENGINE 7
1P6-F1387-10-00
Unavailable
10
COVER
1P6-F117F-10-00
Unavailable
12
DAMPER, PLATE
90520-20807-00
Unavailable
