- Partiron
- OEM Parts
- Yamaha
- motorcycle
- 2006
- TTR250VC (TT-R250 CA) 5GFP 2006
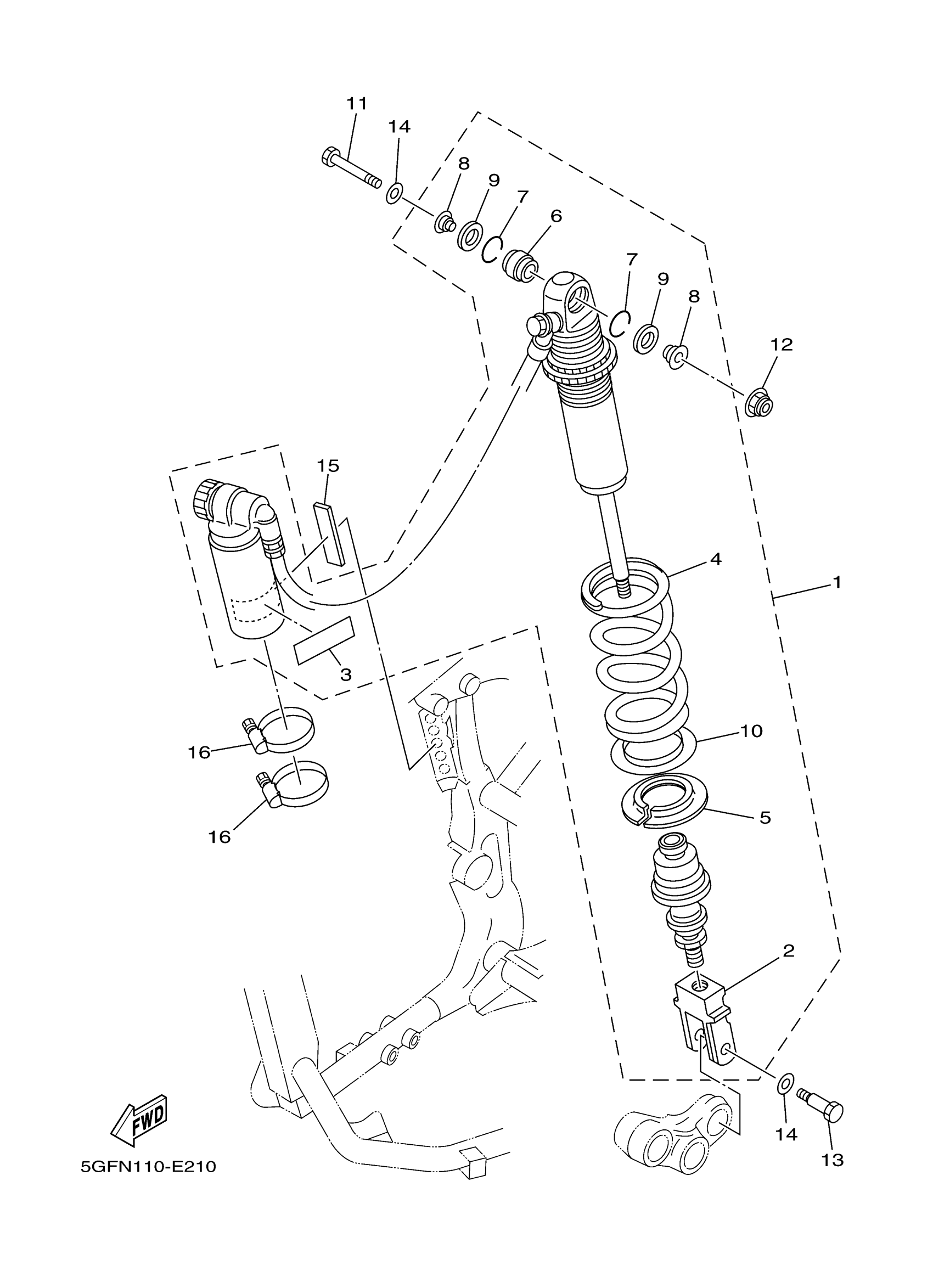
REAR SUSPENSION
Yamaha TTR250VC (TT-R250 CA) 5GFP 2006 REAR SUSPENSION Diagram
#
Description
Price
1
SHOCK ABSORBER ASSY, REAR
5GF-22210-01-P0
Unavailable
2
BRACKET, UPPER
4GY-22219-00-00
Unavailable
4
. SPRING
4GY-22212-01-P0
Unavailable
5
GUIDE, SPRING 1
3LD-22214-01-00
Unavailable
10
. GUIDE, SPRING 2
3XP-22224-00-00
Unavailable
11
BOLT 1
3SP-22241-00-00
Unavailable
15
DAMPER, SUB TANK
4GY-22261-00-00
Unavailable
16
HOSE CLAMP ASSY
90450-60007-00
Unavailable
