Yamaha TTR250VC (TT-R250 CA) 5GFP 2006 CARBURETOR Diagram
#
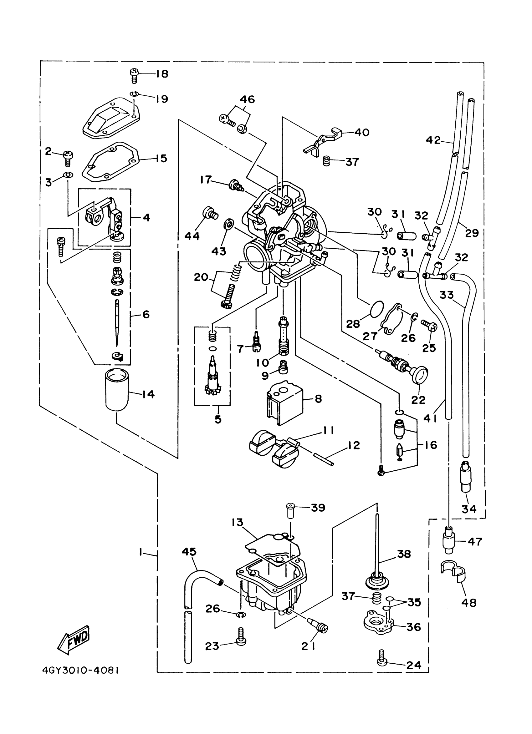
4
. BRACKET 2
4GY-14292-01-00
Unavailable
6
NEEDLE SET
4GY-1490J-00-00
Unavailable
8
PLATE,BAFFLE
4GY-14153-01-00
Unavailable
10
NOZZLE, MAIN
4GY-14341-20-00
Unavailable
11
FLOAT
25N-14385-00-00
Unavailable
12
. PIN, FLOAT
6E5-14386-01-00
Unavailable
13
GASKET, FLOAT CHAMBER
4GY-14384-00-00
Unavailable
14
VALVE, THROTTLE 1
4GY-14312-40-00
Unavailable
16
NEEDLE VALVE SET
4GY-14107-00-00
Unavailable
17
SCREW, GUIDE
4GY-14326-00-00
Unavailable
18
SCREW, PAN HEAD (713)
98580-04008-00
Unavailable
20
STOP SCREW SET
3GV-1490K-00-00
Unavailable
21
AIR SCREW SET
14T-14104-00-00
Unavailable
22
PLUNGER, STARTER
2KF-14371-01-00
Unavailable
23
SCREW, PAN HEAD(GA5)
98580-04014-00
Unavailable
24
SCREW, LEVER FITTING
214-24535-00-00
Unavailable
25
SCREW, PAN HEAD(3XP)
98517-04006-00
Unavailable
27
COVER 1
4GY-14293-00-00
Unavailable
28
O-RING
1HV-14147-00-00
Unavailable
29
PIPE
3YF-14149-00-00
Unavailable
30
CLIP
3YF-14159-00-00
Unavailable
31
PIPE
4GY-14149-20-00
Unavailable
32
WAY 3 (10L)
90413-07007-00
Unavailable
33
PIPE
4GY-14149-20-00
Unavailable
34
PIPE 2,OVERFLOW
24W-14193-00-00
Unavailable
35
O-RING
5Y1-14397-00-00
Unavailable
36
COVER, DIAPHRAGM
4GY-14958-00-00
Unavailable
37
. SPRING
6G8-14275-00-00
Unavailable
38
DIAPHRAGM ASSY
4GY-14940-00-00
Unavailable
39
VALVE, CHECK SEAT
4GY-14272-00-00
Unavailable
40
LEVER
4GY-14276-00-00
Unavailable
41
PIPE
4GY-14149-20-00
Unavailable
42
PIPE
3YF-14149-00-00
Unavailable
43
GASKET
5H0-14126-00-00
Unavailable
44
SCREW
5H0-14991-00-00
Unavailable
45
PIPE
1JK-14197-00-00
Unavailable
46
. STOP SCREW SET
4GY-1490K-00-00
Unavailable
47
PIPE 2,OVERFLOW
24W-14193-00-00
Unavailable
48
CLIP (1E6)
90468-15064-00
Unavailable
