- Partiron
- OEM Parts
- Yamaha
- motorcycle
- 2003
- TTR250RC (TTR250 CA) 5GFE 2003
REAR SUSPENSION
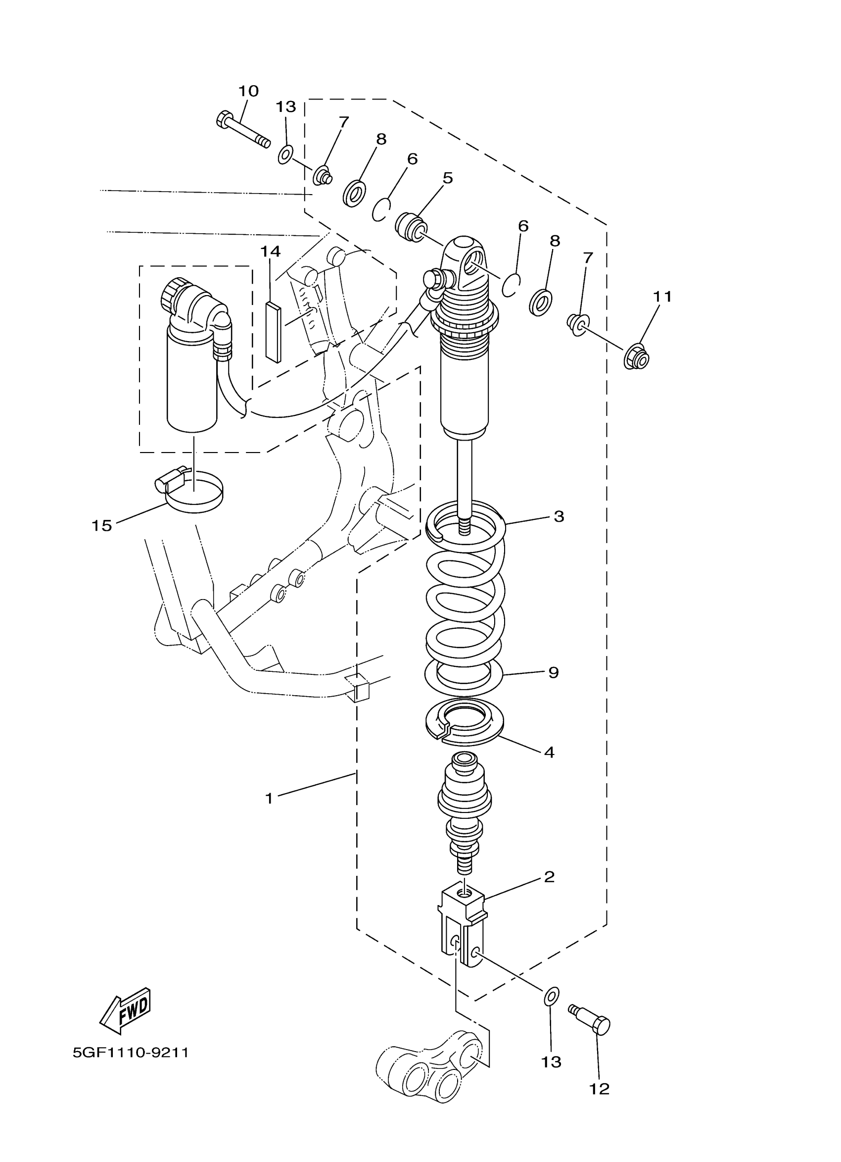
Yamaha TTR250RC (TTR250 CA) 5GFE 2003 REAR SUSPENSION Diagram
#
Description
Price
1
SHOCK ABSORBER ASSY, REAR
5GF-22210-01-P0
Unavailable
2
BRACKET, UPPER
4GY-22219-00-00
Unavailable
3
. SPRING
4GY-22212-01-P0
Unavailable
4
GUIDE, SPRING 1
3LD-22214-01-00
Unavailable
9
. GUIDE, SPRING 2
3XP-22224-00-00
Unavailable
10
BOLT 1
3SP-22241-00-00
Unavailable
14
DAMPER, SUB TANK
4GY-22261-00-00
Unavailable
15
HOSE CLAMP ASSY
90450-60007-00
Unavailable
