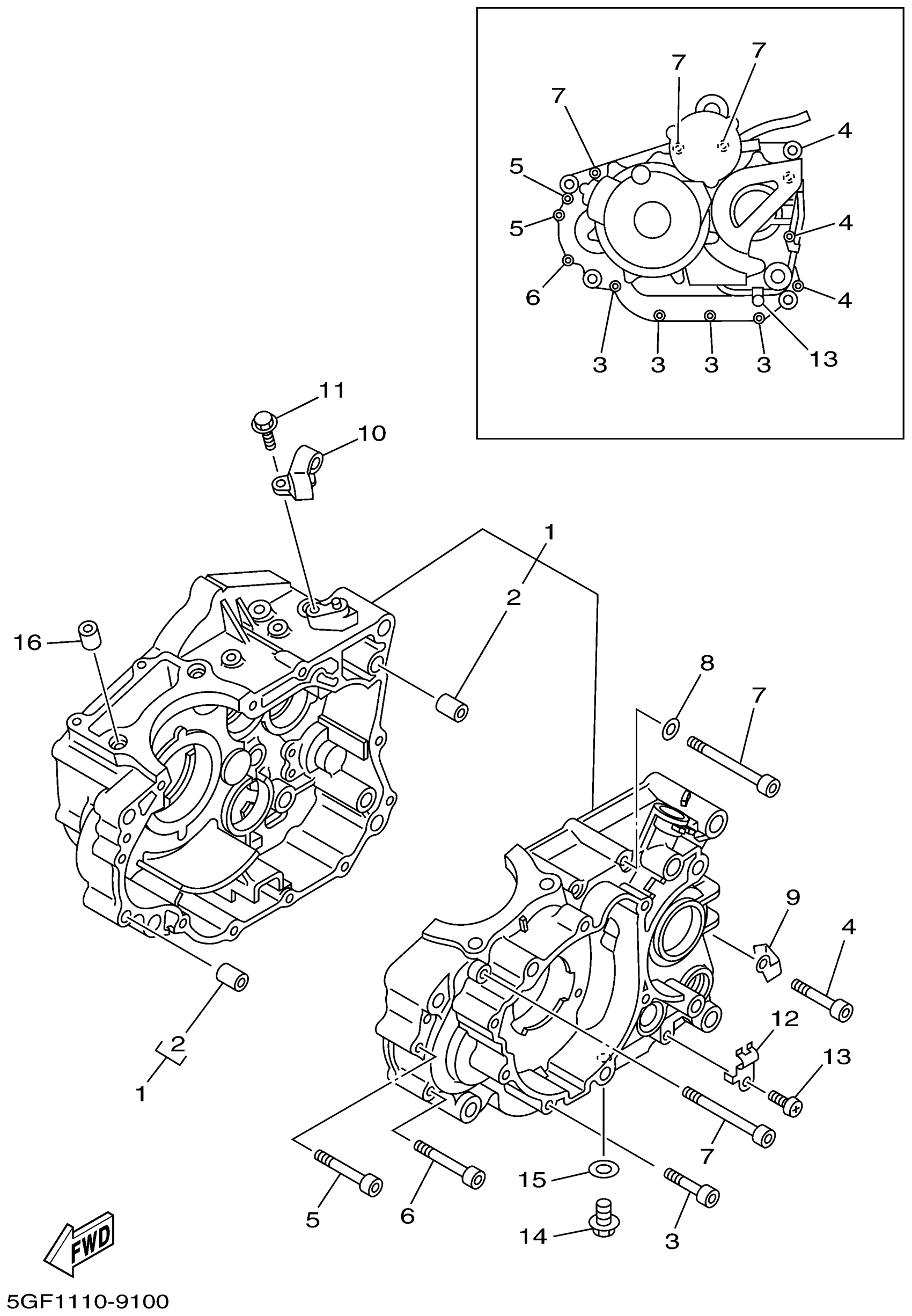
Yamaha TTR250PC (TTR250 CA) 5GFB 2002 CRANKCASE Diagram
#
Description
Price
1
CRANKCASE ASSY
4RR-15100-02-00
Unavailable
8
GASKET 256113960000
90430-06014-00
Unavailable
10
HOLDER, CLUTCH CABLE
4GY-15441-00-00
Unavailable
12
CLAMP(4GY)
90462-10215-00
Unavailable
16
PIN, DOWEL
99530-14016-00
Unavailable
