Partiron

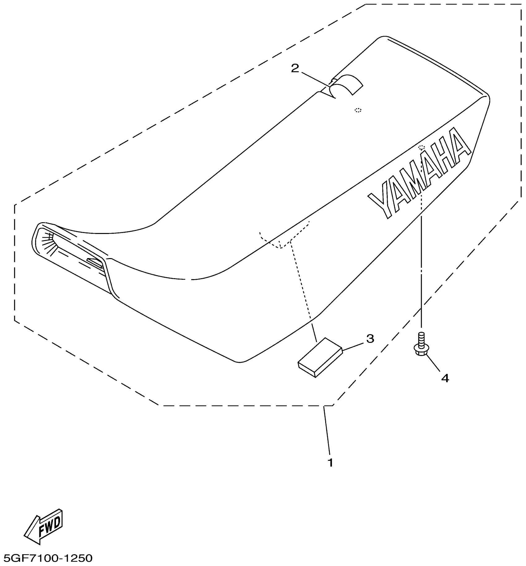
Yamaha TTR250NC (TTR250 CA) 5GF8 2001 SEAT Diagram

#

Description
Price

1

DOUBLE SEAT ASSY

4GY-24730-A0-00

Unavailable

2

. COVER, SEAT

4GY-24731-A0-00

Unavailable

3

DAMPER, LOCATING 5

3TB-24185-00-00

$2.39

4

BOLT, FLANGE

95817-06016-00

$2.75