Partiron

Yamaha TTR230H (TTR230) B687 2017 STARTING MOTOR Diagram

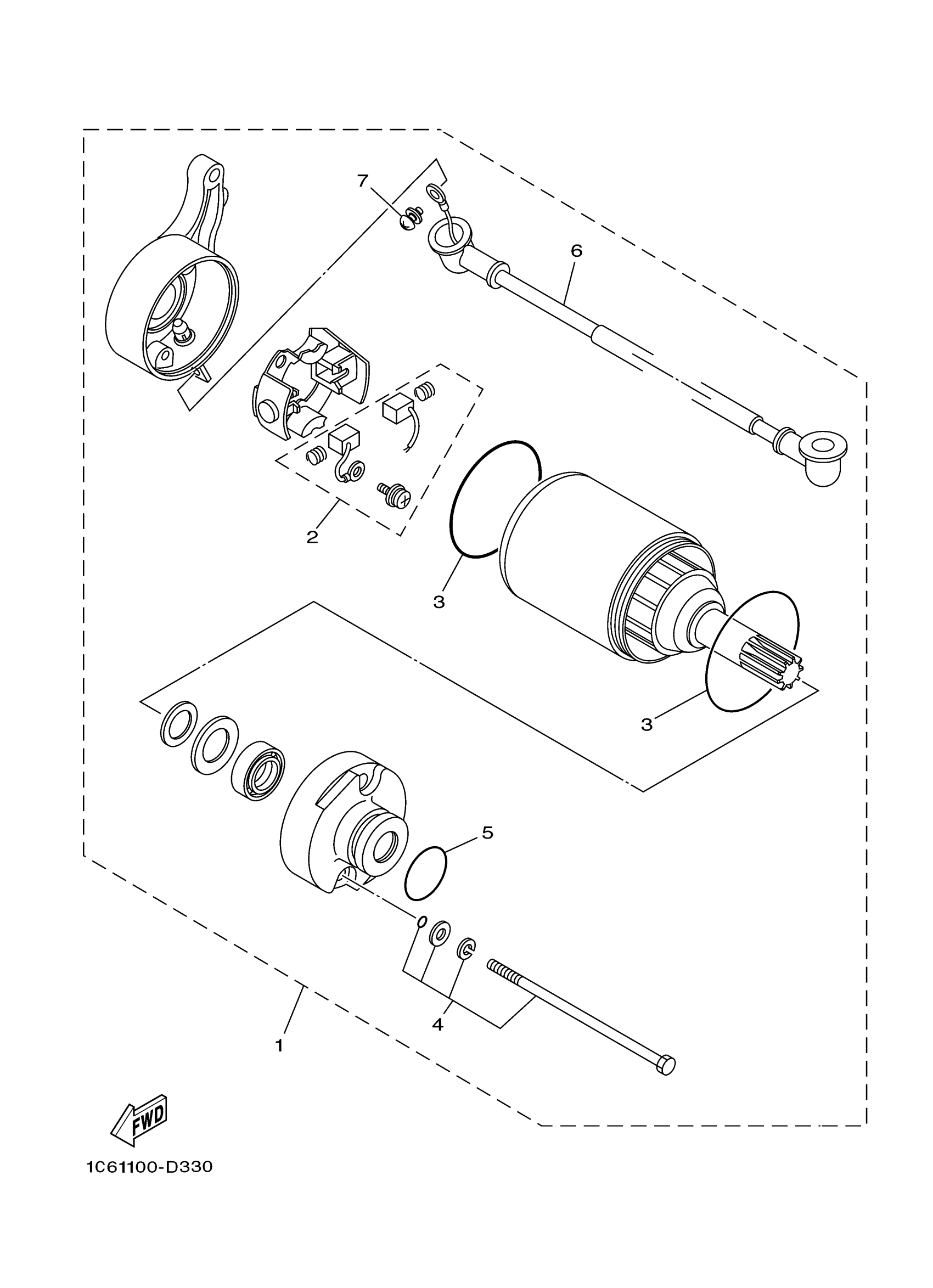
#

Description
Price

1

STARTING MOTOR ASSY

1C6-H1800-00-00

$505.99

2

BRUSH ASSY.

4FP-H1801-00-00

Unavailable

3

O-RING(50M)

93210-55669-00

$8.49

4

BOLT 2

4FP-H1828-00-00

Unavailable

5

O-RING(1RL)

93210-25711-00

$7.49

6

CORD COMP.

1C6-H183G-00-00

$177.99

7

GASKET, EXHAUST

98507-05008-00

$3.55