Partiron

Yamaha TTR230D (TTR230) 1C6T 2013 STARTING MOTOR Diagram

#

Description
Price

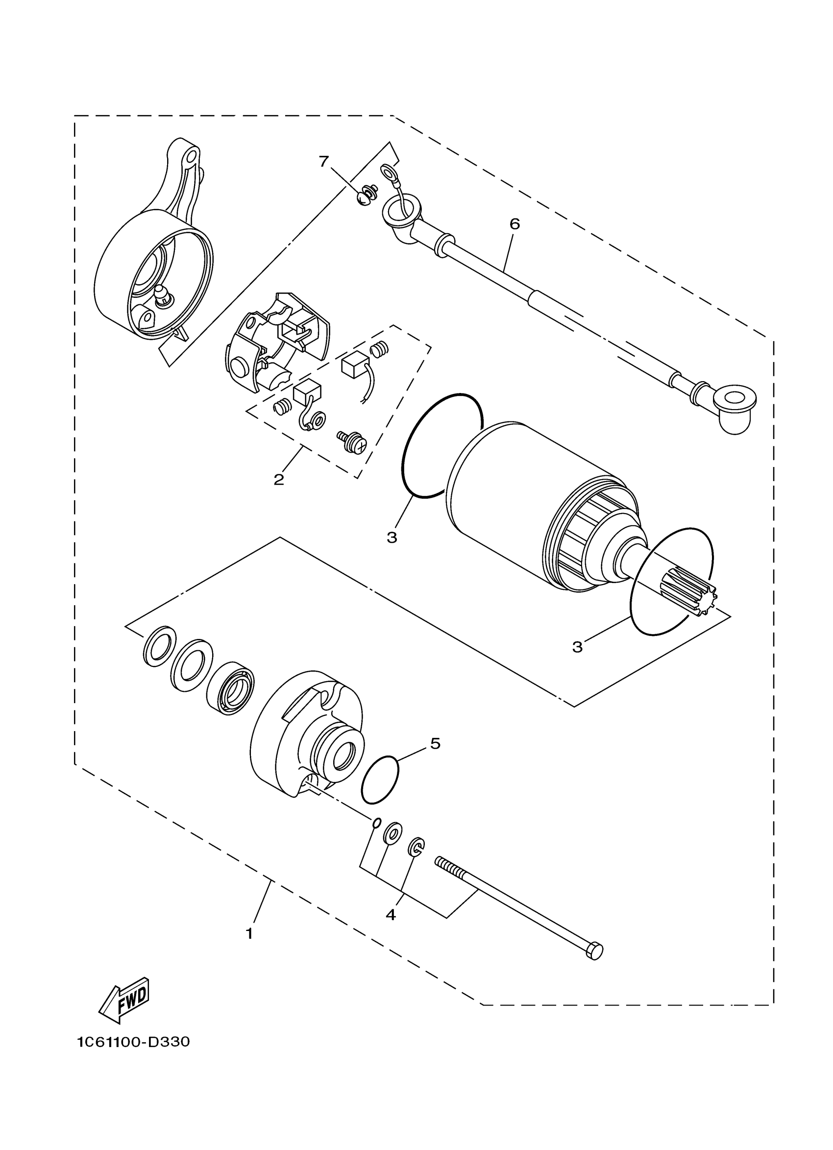
1

STARTING MOTOR ASSY

1C6-H1800-00-00

$505.99

2

BRUSH ASSY.

4FP-H1801-00-00

Unavailable

3

O-RING(50M)

93210-55669-00

$8.49

4

BOLT 2

4FP-H1828-00-00

Unavailable

5

O-RING(1RL)

93210-25711-00

$7.49

6

CORD COMP.

1C6-H183G-00-00

$177.99

7

GASKET, EXHAUST

98507-05008-00

$3.55