- Partiron
- OEM Parts
- Yamaha
- motorcycle
- 2013
- TTR230D (TTR230) 1C6T 2013
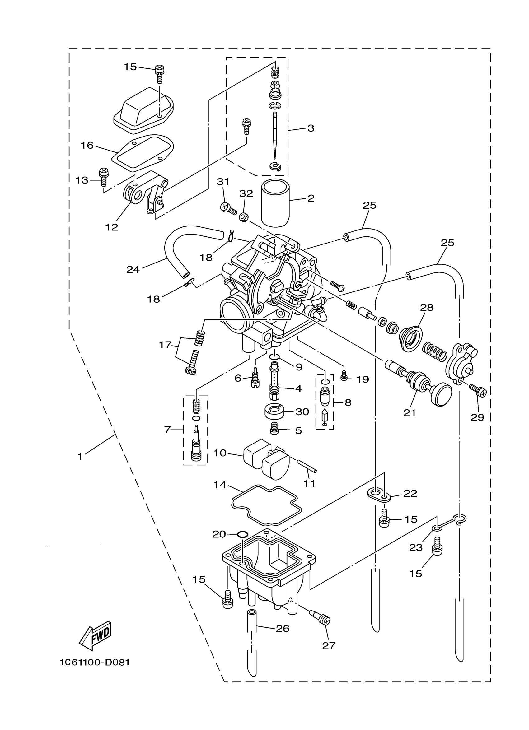
CARBURETOR
Yamaha TTR230D (TTR230) 1C6T 2013 CARBURETOR Diagram
#
Description
Price
2
VALVE, THROTTLE 2
1XL-14313-27-00
Unavailable
3
NEEDLE SET
1C6-1490J-00-00
Unavailable
10
FLOAT
25N-14385-00-00
Unavailable
11
. PIN, FLOAT
6E5-14386-01-00
Unavailable
12
BRACKET 1
4PT-14291-10-00
Unavailable
16
GASKET
5Y1-14198-00-00
Unavailable
17
STOP SCREW SET
5DS-1490K-00-00
Unavailable
18
CLIP
5Y1-14159-00-00
Unavailable
19
SCREW, PAN HEAD
30S-14325-00-00
Unavailable
20
GASKET
5Y1-14536-00-00
Unavailable
21
PLUNGER, STARTER
1KH-14371-01-00
Unavailable
22
PLATE
5Y1-14146-00-00
Unavailable
23
PLATE
42U-14146-00-00
Unavailable
24
PIPE
1KH-14149-00-00
Unavailable
25
PIPE
1C6-14197-00-00
Unavailable
26
PIPE
1C6-14396-00-00
Unavailable
27
AIR SCREW SET
14T-14104-00-00
Unavailable
28
DIAPHRAGM SET 1
5Y1-1490A-00-00
Unavailable
29
SCREW, PAN HEAD (E56)
98580-04010-00
Unavailable
30
WASHER, MAIN JET
1KH-14153-00-00
Unavailable
31
SCREW,PAN HEAD (646)
98580-05012-00
Unavailable
32
NUT
30X-14358-00-00
Unavailable
