- Partiron
- OEM Parts
- Yamaha
- motorcycle
- 1999
- TTR225LC (TTR225 CA) 5FG2 1999
CRANKSHAFT PISTON
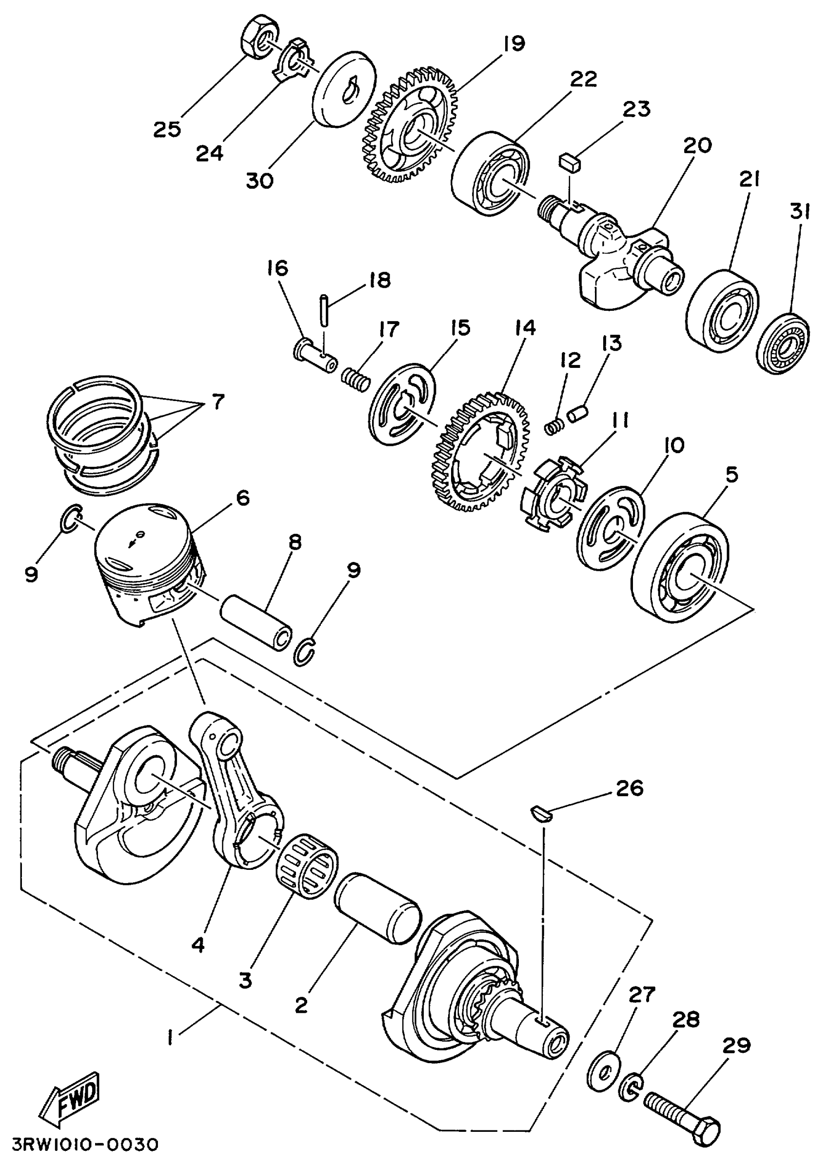
Yamaha TTR225LC (TTR225 CA) 5FG2 1999 CRANKSHAFT PISTON Diagram
#
Description
Price
2
PIN, CRANK 1
5H0-11681-00-00
Unavailable
7
PISTON RING SET (STD)
4BD-11610-00-00
Unavailable
10
WASHER, PLATE (5H0)
90201-201E4-00
Unavailable
11
BOSS, BUFFER
5H0-11496-00-00
Unavailable
12
SPRING COMPRESSION341114880000
90501-21133-00
Unavailable
13
PIN, DOWEL
93605-10090-00
Unavailable
14
GEAR, DRIVE
5H0-11536-00-00
Unavailable
15
WASHER, CLAW (5H0)
90214-20023-00
Unavailable
16
PIN, CLEVIS (5H0)
90240-07083-00
Unavailable
17
SPRING, COMPRESSION (5H0)
90501-07629-00
Unavailable
18
PIN, DOWEL (5H0)
93602-13177-00
Unavailable
19
BALANCER WEIGHT GEAR COMP.
2LN-11530-00-00
Unavailable
20
WEIGHT 1
1KH-11454-00-00
Unavailable
21
BEARING
93306-20532-00
Unavailable
22
BEARING
93306-30443-00
Unavailable
23
KEY, STRAIGHT(34K)
90282-05065-00
Unavailable
24
WASHER, LOCK (15Y)
90215-14205-00
Unavailable
25
NUT (5H0)
90170-14284-00
Unavailable
26
KEY, WOODRUFF
90280-05001-00
Unavailable
27
WASHER, PLATE(52H)
90201-102J5-00
Unavailable
28
WASHER(6TA)
92907-10100-00
Unavailable
29
BOLT (341)
90101-10188-00
Unavailable
30
PLATE, BREATHER 2
1KH-11145-00-00
Unavailable
31
OIL SEAL (5Y1)
93101-25106-00
Unavailable
