Yamaha TTR125LM (TTR125L) 5HP4 2000 FRONT FORK Diagram
#
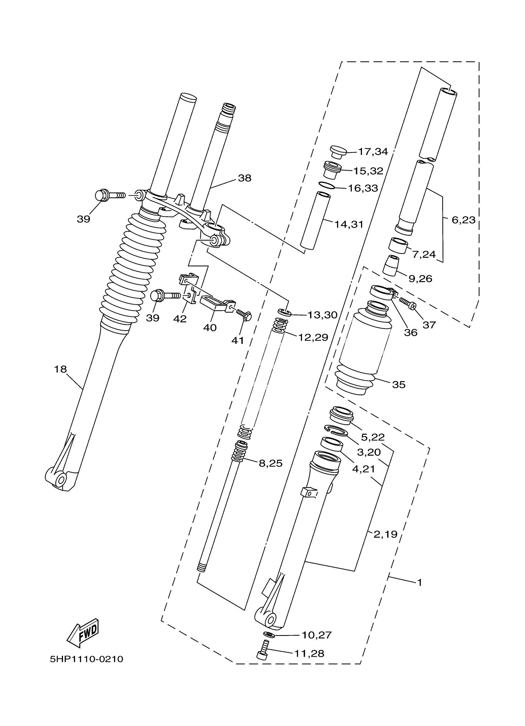
1
FRONT FORK ASSY (L.H)
5HP-23102-10-00
Unavailable
2
OUTER TUBE COMP. (L.H)
5HP-23106-11-00
Unavailable
6
. INNER TUBE COMP 1
5HP-23110-00-00
Unavailable
8
. CYLINDER COMP, FRONT FORK
5HP-23170-10-00
Unavailable
12
. SPRING, FRONT FORK
5HP-23141-10-00
Unavailable
13
. WASHER, OIL SEAL
5J0-23146-00-00
Unavailable
14
. SPACER
5HP-23118-10-00
Unavailable
15
BOLT, CAP
1X0-23111-00-00
Unavailable
16
PACKING(O-RING)
146-23114-00-00
Unavailable
17
CAP
1X0-23168-00-00
Unavailable
18
FRONT FORK ASSY (R.H)
5HP-23103-10-00
Unavailable
19
OUTER TUBE COMP. (R.H)
5HP-23107-11-00
Unavailable
23
. INNER TUBE COMP 1
5HP-23110-00-00
Unavailable
25
. CYLINDER COMP, FRONT FORK
5HP-23170-10-00
Unavailable
29
. SPRING, FRONT FORK
5HP-23141-10-00
Unavailable
30
. WASHER, OIL SEAL
5J0-23146-00-00
Unavailable
31
. SPACER
5HP-23118-10-00
Unavailable
32
BOLT, CAP
1X0-23111-00-00
Unavailable
33
PACKING(O-RING)
146-23114-00-00
Unavailable
34
CAP
1X0-23168-00-00
Unavailable
35
BOOT
5HP-23191-00-00
Unavailable
36
BAND, BOOT
482-23192-40-00
Unavailable
37
SCREW, PAN HEAD
98517-04016-00
Unavailable
38
UNDER BRACKET COMP.
5HP-23340-00-00
Unavailable
39
BOLT, FLANGE(3XC)
95824-10030-00
Unavailable
40
GUIDE, CABLE
4DA-23389-00-00
Unavailable
41
BOLT, WITH WASHER
90119-05071-00
Unavailable
42
GUIDE, CABLE
5HP-2331E-00-00
Unavailable
