Yamaha TTR125LEPC (TTR125LE CA) BSR2 2023 CARBURETOR Diagram
#
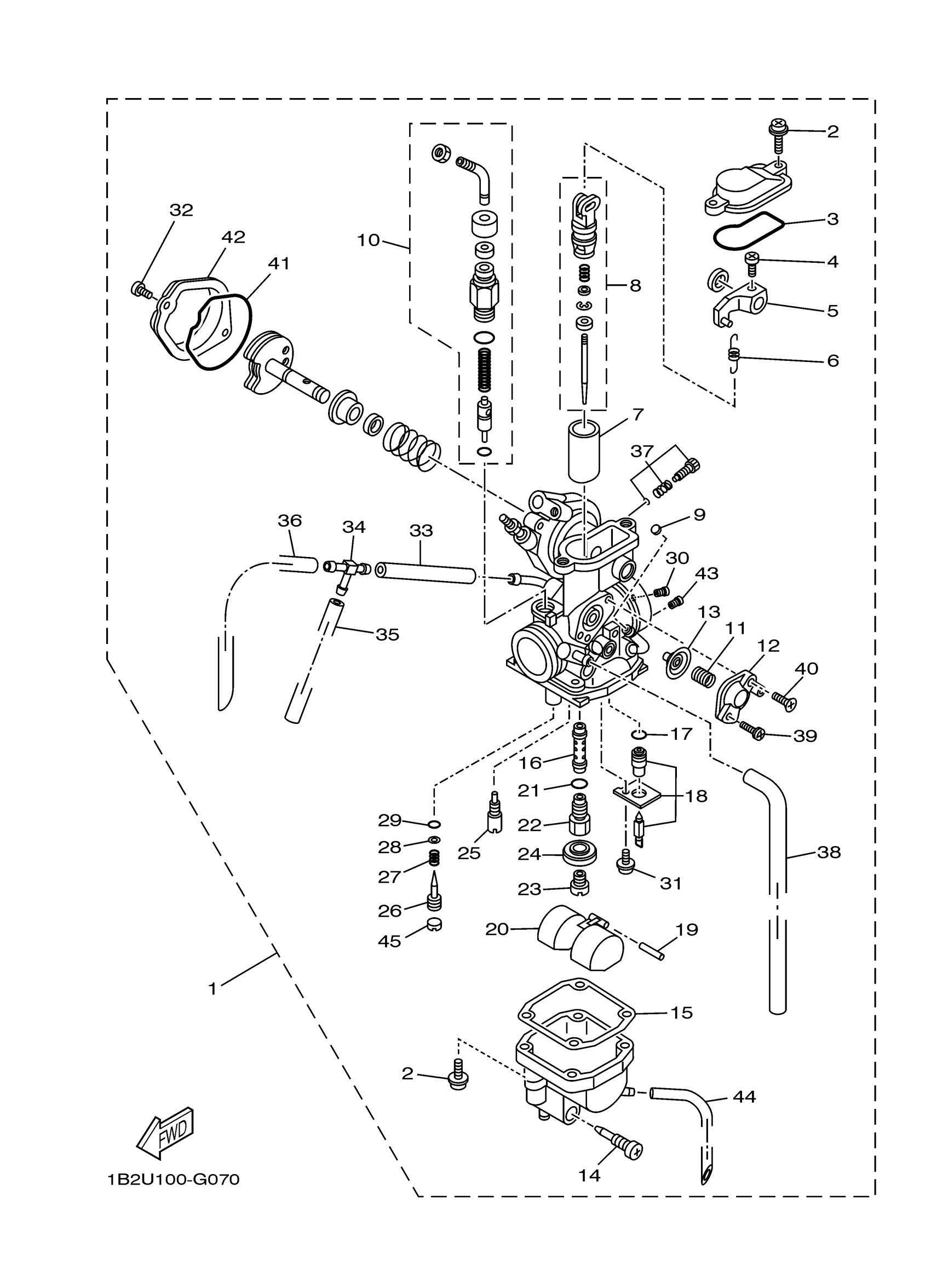
5
LEVER, STARTER
1B2-14905-00-00
Unavailable
6
SPRING
1B2-14589-00-00
Unavailable
16
NOZZLE, MAIN
1B2-14141-29-00
Unavailable
17
O-RING
4LS-14147-00-00
Unavailable
18
NEEDLE VALVE SET
5RM-14107-18-00
Unavailable
19
PIN, FLOAT
127-14186-00-00
Unavailable
20
FLOAT
5HH-14185-00-00
Unavailable
21
O-RING
583-14561-00-00
Unavailable
22
SETTER, NEEDLE JET
1B2-14145-00-00
Unavailable
23
JET, MAIN (#100)
620-14231-20-00
Unavailable
24
WASHER, MAIN JET
5V7-14153-00-00
Unavailable
25
JET, PILOT (# 15)
5HP-14142-15-00
Unavailable
26
SCREW, PILOT
5HP-14923-00-00
Unavailable
27
SPRING
5K7-14134-00-00
Unavailable
28
WASHER, PILOT SCREW
3H1-14962-00-00
Unavailable
29
O-RING, PILOT SCREW
3H1-14147-00-00
Unavailable
30
JET, MAIN (#120)
1HX-14231-24-00
Unavailable
31
SCREW PAN HEAD WITH WASHER
97607-03106-00
Unavailable
32
SCREW, PAN HEAD(3XP)
98517-04006-00
Unavailable
33
PIPE 1
1B2-14348-00-00
Unavailable
34
NIPPLE
66E-14251-00-00
Unavailable
35
. PIPE
31H-14197-00-00
Unavailable
36
PIPE
5CA-14197-00-00
Unavailable
37
THROTTLE SCREW SET
1B2-14103-00-00
Unavailable
38
PIPE
26H-14197-01-00
Unavailable
39
SCREW
5HP-14216-00-00
Unavailable
40
SCREW
5HP-14565-09-00
Unavailable
41
O-RING
1B2-1416A-00-00
Unavailable
42
COVER 1
1B2-14293-00-00
Unavailable
43
JET, MAIN (# 80)
1HX-14231-16-00
Unavailable
44
HOSE (L700)
90445-05M07-00
Unavailable
45
CAP
3F9-14118-00-00
Unavailable
