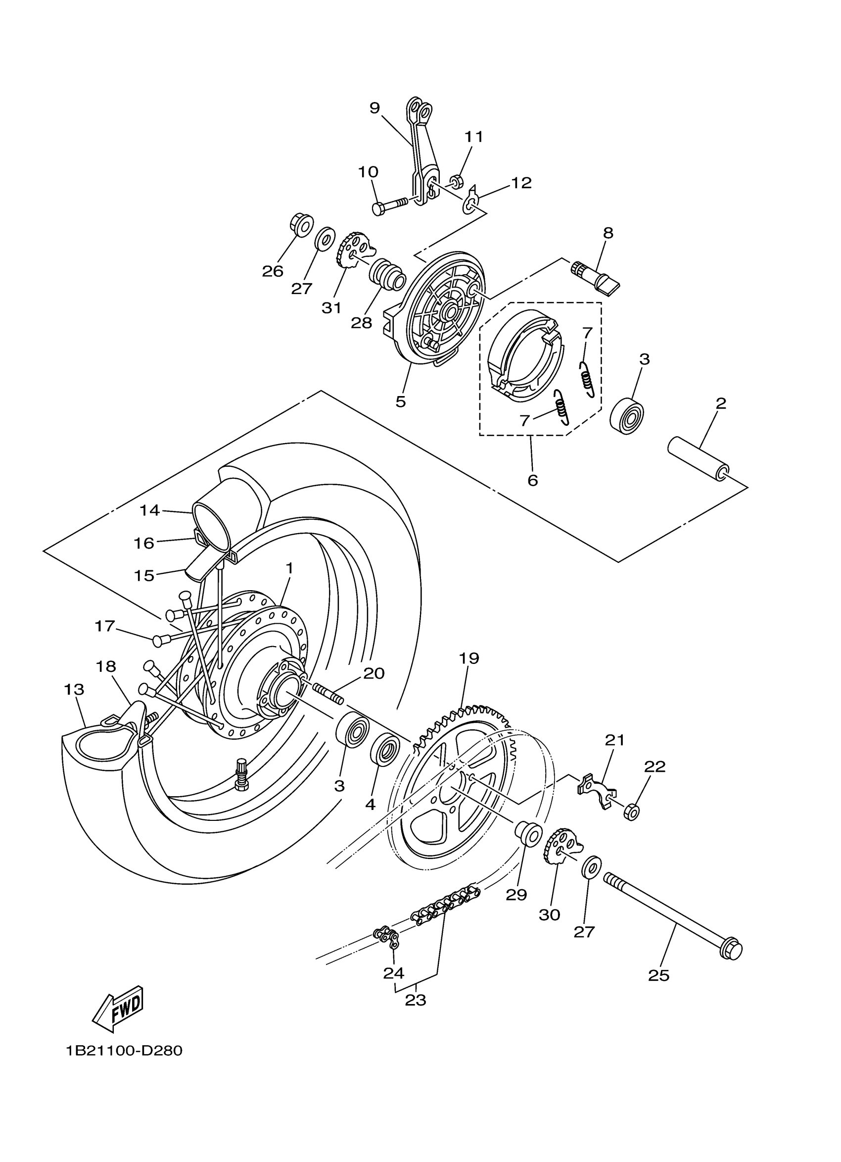
Yamaha TTR125LEJ (TTR125LE) 2PTD 2018 REAR WHEEL Diagram
#
Description
Price
5
PLATE, BRAKE SHOE
1B2-F5321-00-00
Unavailable
8
CAMSHAFT
1B2-F5151-00-00
Unavailable
13
TIRE(90/100 - 16 52M IX05H)
94109-16019-00
Unavailable
16
RIM (1.60-16)
94416-16003-00
Unavailable
17
SPOKE SET, REAR
1B2-F5304-20-00
Unavailable
18
SPACER, BEAD
1B2-F5394-00-00
Unavailable
19
SPROCKET, DRIVEN (54T)
1B2-F5454-30-00
Unavailable
20
BOLT, STUD
90116-10013-00
Unavailable
21
WASHER CLOCK, SPROCKET
5RM-F5412-00-00
Unavailable
22
NUT
90170-10206-00
Unavailable
23
CHAIN
9Y582-51121-00
Unavailable
24
JOINT, CHAIN
94682-51001-00
Unavailable
25
AXLE, WHEEL
1B2-F5381-10-00
Unavailable
26
NUT, U FLANGE
95607-12200-00
Unavailable
27
WASHER, PLATE (4N0)
90201-126A7-00
Unavailable
28
COLLAR, WHEEL
1B2-F5383-00-00
Unavailable
29
COLLAR (40E)
90387-127E0-00
Unavailable
30
PULLER, CHAIN 1
1B2-F5388-00-00
Unavailable
31
PULLER, CHAIN 2
1B2-F5389-00-00
Unavailable
