- Partiron
- OEM Parts
- Yamaha
- motorcycle
- 2016
- TTR125LEG (TTR125LE) 2PT7 2016
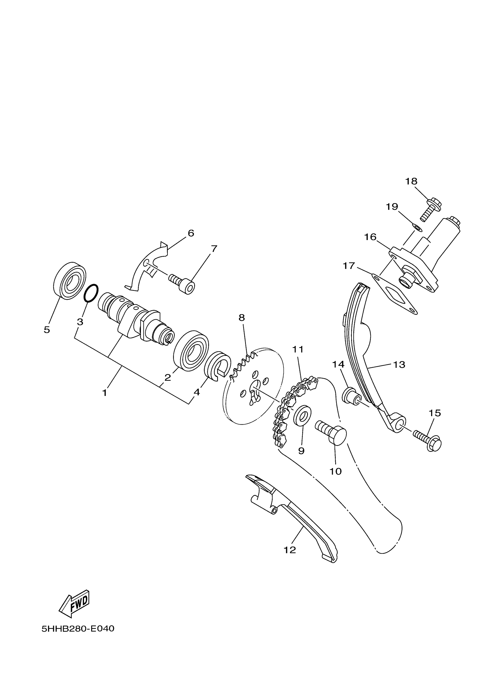
CAMSHAFT CHAIN
Yamaha TTR125LEG (TTR125LE) 2PT7 2016 CAMSHAFT CHAIN Diagram
#
Description
Price
1
CAMSHAFT ASSY 1
5HH-E2170-20-00
Unavailable
2
. BEARING
93306-003X0-00
Unavailable
5
BRG
93306-002Y5-00
Unavailable
16
TENSIONER ASSY, CAM CHAIN
5VL-12210-10-00
Unavailable
17
GASKET, TENSIONER CASE 1
5HH-E2213-00-00
Unavailable
18
BOLT, FLANGE
95817-06016-00
Unavailable
19
GASKET 256113960000
90430-06014-00
Unavailable
